Запчасти Komatsu D375A-2 ГИДРАВЛ КЛАПАН (ПОДЪЕМ. ОТВАЛА) (/) УПРАВЛ-Е РАБОЧИМ ОБОРУДОВАНИЕМ

Схема запчастей Komatsu D375A-2 - ГИДРАВЛ КЛАПАН (ПОДЪЕМ. ОТВАЛА) (/) УПРАВЛ-Е РАБОЧИМ ОБОРУДОВАНИЕМ
FIT
1:1
100%

Артикул

Название

Примечание

Количество

|1

709-61-11206

VALVE ASS'Y

SN: 16001-UP

1шт.

|1

0

VALVE ASS'Y

SN: (16079-.)

1шт.

|1

0

VALVE ASS'Y

SN: (16001-16078)

1шт.

|1

709-61-12206

VALVE ASS'Y,(B)

SN: 16001-UP

1шт.

|1

0

VALVE ASS'Y,(B)

SN: (16079-.)

1шт.

|1

0

VALVE ASS'Y,(B)

SN: (16001-16078)

1шт.

|$$7

THESE ASSEMBLIES CONSIST OF ALL PARTS SHOWN IN FIGS.6031 TO 6033.

-1шт.

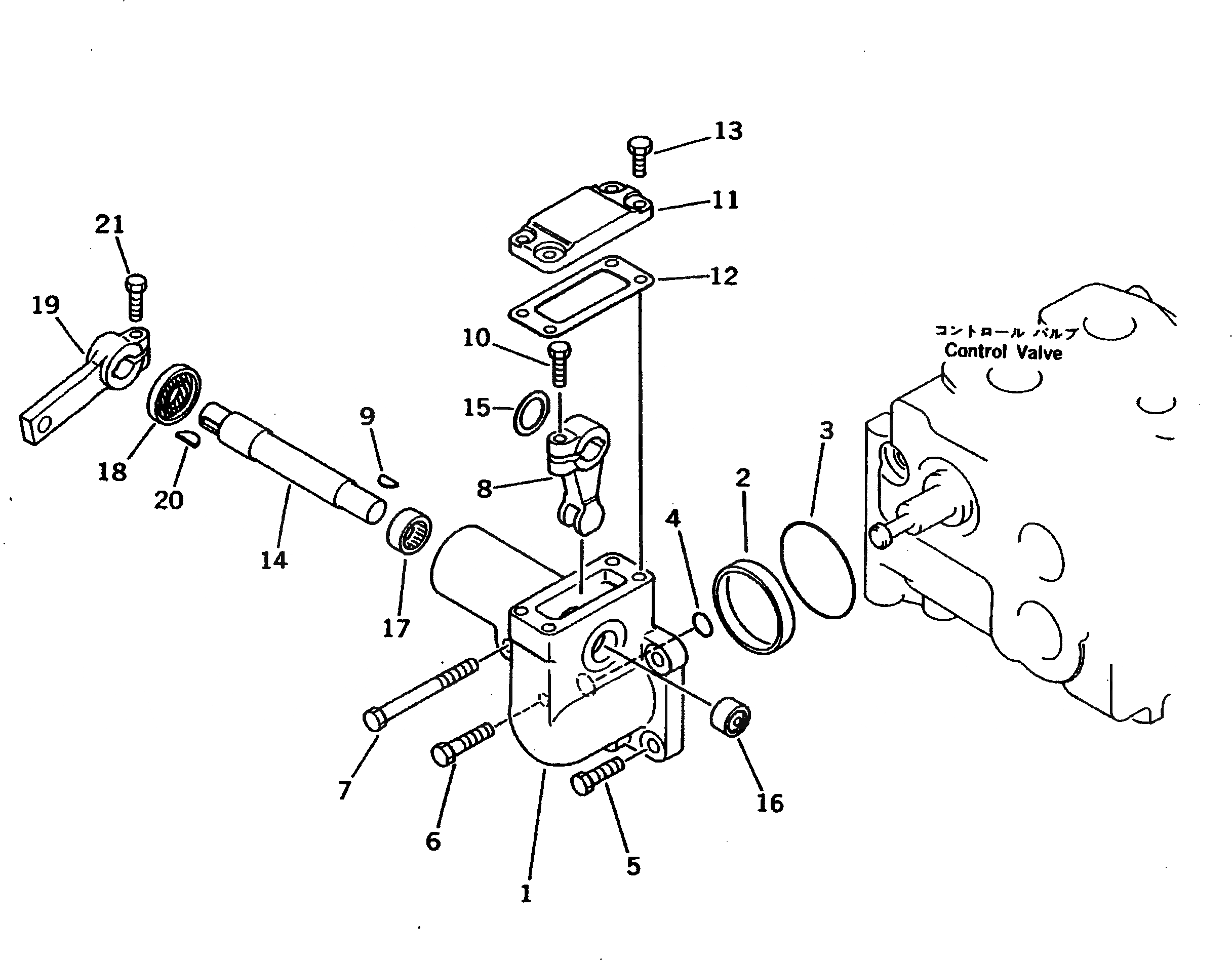
1

709-61-11450

CASE

SN: 16001-UP

1шт.

2

709-61-11440

COLLAR

SN: 16001-UP

1шт.

3

07000-02070

O-RING

SN: 16001-UP

1шт.

|3

07000-42070

O-RING,(B)

SN: 16001-UP

1шт.

4

07000-02015

O-RING

SN: 16001-UP

1шт.

|4

07000-42015

O-RING,(B)

SN: 16001-UP

1шт.

5

01010-51030

BOLT

SN: 16001-UP

2шт.

6

01010-51040

BOLT

SN: 16001-UP

1шт.

7

01010-51090

BOLT

SN: 16001-UP

1шт.

8

700-93-11780

LEVER

SN: 16001-UP

1шт.

9

04010-00416

KEY

SN: 16001-UP

1шт.

10

01010-30825

BOLT

SN: 16001-UP

1шт.

11

700-93-11790

PLATE

SN: 16001-UP

1шт.

12

700-93-11811

GASKET

SN: .-UP

1шт.

|12

0

GASKET

SN: 16001-.

1шт.

13

01010-30820

BOLT

SN: 16001-UP

4шт.

14

709-61-11460

SHAFT

SN: 16001-UP

1шт.

15

709-61-11480

SPACER

SN: 16001-UP

1шт.

16

700-93-11740

BEARING,NEEDLE

SN: 16001-UP

1шт.

17

700-93-11750

BEARING,NEEDLE

SN: 16001-UP

1шт.

18

700-93-11762

SEAL,OIL

SN: 16001-UP

1шт.

|18

700-93-11950

SEAL,OIL¤(B)

SN: 16001-UP

1шт.

19

709-61-11470

LEVER

SN: 16001-UP

1шт.

20

04010-00519

KEY

SN: 16001-UP

1шт.

21

01010-30825

BOLT

SN: 16001-UP

1шт.

Выбрано товаров: 32