Запчасти Komatsu D375A-2 КЛАПАН ТРАНСМИССИИ (/) ГТР CONVERTOR¤ ТРАНСМИССИЯ¤ РУЛЕВ. УПРАВЛЕНИЕ И КОНЕЧНАЯ ПЕРЕДАЧА

Схема запчастей Komatsu D375A-2 - КЛАПАН ТРАНСМИССИИ (/) ГТР CONVERTOR¤ ТРАНСМИССИЯ¤ РУЛЕВ. УПРАВЛЕНИЕ И КОНЕЧНАЯ ПЕРЕДАЧА
FIT
1:1
100%

Артикул

Название

Примечание

Количество

|1

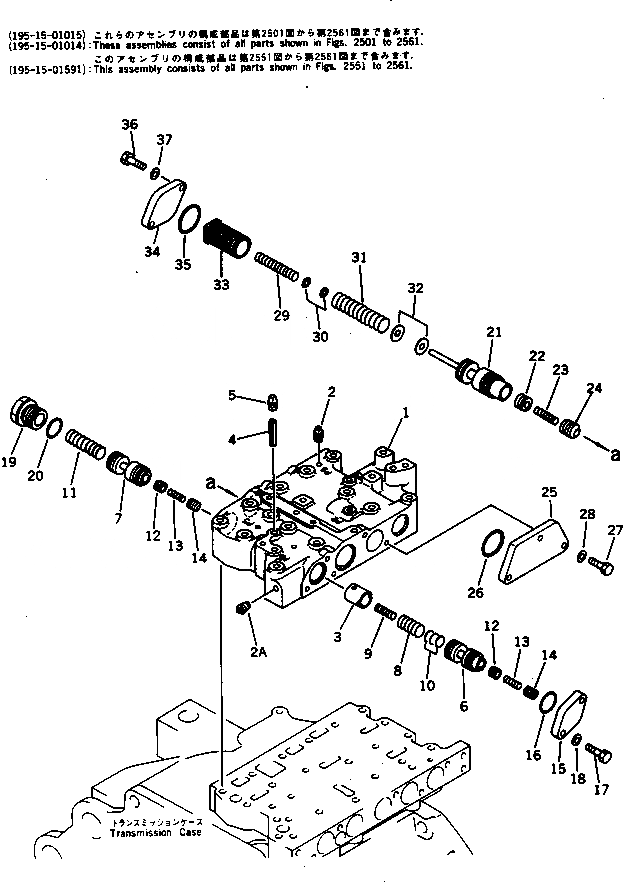
195-15-01016

TRANSMISSION ASS'Y

SN: 16461-UP

1шт.

|1

0

TRANSMISSION ASS'Y

SN: 16240-16460

1шт.

|1

0

TRANSMISSION ASS'Y

SN: 16001-16239

1шт.

|$$4

THESE ASSEMBLIES CONSIST OF ALL PARTS SHOWN IN FIGS.2501 TO 2561.

-1шт.

|1

195-15-01591

CONTROL VALVE A.

SN: 16001-UP

1шт.

|$$6

THIS ASSEMBLY CONSISTS OF ALL PARTS SHOWN IN FIGS.2551 TO 2561.

-1шт.

|1

195-15-01540

BODY ASS'Y

SN: 16001-UP

1шт.

1

0

BODY

SN: 16001-UP

1шт.

2

07042-20108

PLUG

SN: 16001-UP

9шт.

2A

07042-10211

PLUG

SN: 16001-UP

1шт.

3

195-15-35280

STOPPER

SN: 16001-UP

1шт.

4

04025-00850

PIN,SPRING

SN: 16001-UP

1шт.

5

07042-20108

PLUG

SN: 16001-UP

1шт.

6

195-15-35230

VALVE

SN: 16001-UP

1шт.

7

195-15-35240

VALVE

SN: 16001-UP

1шт.

8

124-15-42910

SPRING,(L=41.5)

SN: 16001-UP

1шт.

9

237-14-12940

SPRING,(L=35)

SN: 16001-UP

1шт.

10

198-15-15570

SHIM¤ 0.50MM

SN: 16001-UP

6шт.

11

566-15-45580

SPRING,(L=68.7)

SN: 16001-UP

1шт.

12

104-15-25490

VALVE

SN: 16001-UP

2шт.

13

125-15-15290

SPRING,(L=26)

SN: 16001-UP

2шт.

14

104-15-25480

VALVE

SN: 16001-UP

2шт.

15

195-15-35810

PLATE

SN: 16001-UP

1шт.

16

07000-73032

O-RING (KIT)

SN: 16001-UP

1шт.

17

01010-51030

BOLT

SN: 16001-UP

2шт.

18

01643-51032

WASHER

SN: 16001-UP

2шт.

19

195-15-36460

PLUG

SN: 16001-UP

1шт.

20

07002-03334

O-RING (KIT)

SN: 16001-UP

1шт.

21

195-15-35521

VALVE

SN: 16001-UP

1шт.

22

287-15-15380

VALVE

SN: 16001-UP

1шт.

23

180-14-25560

SPRING,(L=35)

SN: 16001-UP

1шт.

24

195-15-35530

VALVE

SN: 16001-UP

1шт.

25

195-15-35830

PLATE

SN: 16001-UP

1шт.

26

07000-73040

O-RING (KIT)

SN: 16001-UP

1шт.

27

01010-51030

BOLT

SN: 16001-UP

3шт.

28

01643-51032

WASHER

SN: 16001-UP

3шт.

29

195-15-46170

SPRING,(L=90)

SN: 16001-UP

1шт.

30

560-43-14330

SHIM¤ 0.5MM

SN: 16001-UP

4шт.

31

195-15-36160

SPRING,(L=100)

SN: 16001-UP

1шт.

32

203-57-21320

SHIM¤ 0.5MM

SN: 16001-UP

4шт.

33

195-15-35560

PISTON

SN: 16001-UP

1шт.

34

195-15-35851

COVER

SN: 16001-UP

1шт.

35

07000-73045

O-RING (KIT)

SN: 16001-UP

1шт.

36

01010-51030

BOLT

SN: 16001-UP

2шт.

37

01643-51032

WASHER

SN: 16001-UP

2шт.

Выбрано товаров: 45