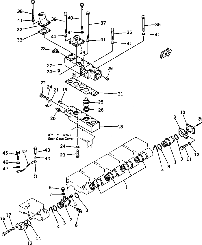
Запчасти Komatsu SA6D170-B-1J ВОДЯНОЙ КОЛЛЕКТОР И ТЕРМОСТАТ ГОЛОВКА ЦИЛИНДРОВ

Схема запчастей Komatsu SA6D170-B-1J - ВОДЯНОЙ КОЛЛЕКТОР И ТЕРМОСТАТ ГОЛОВКА ЦИЛИНДРОВ
FIT
1:1
100%

Артикул

Название

Примечание

Количество

1

6162-13-6270

PIPE,WATER

SN: 13551-UP

5шт.

2

6162-13-6291

PIPE,WATER

SN: 13551-UP

1шт.

3

6166-11-6290

O-RING (K1)

SN: 13551-UP

12шт.

4

6162-13-6280

RING,SNAP

SN: 13551-UP

6шт.

5

07043-00415

PLUG

SN: 13551-UP

2шт.

6

07040-01612

PLUG

SN: 13551-UP

2шт.

7

07005-01612

GASKET (K1)

SN: 13551-UP

2шт.

8

600-815-1770

SWITCH,THERMO

SN: 13551-UP

1шт.

9

6162-13-6560

CONNECTOR,WATER

SN: 13551-UP

1шт.

10

6162-13-6570

GASKET (K1)

SN: 13551-UP

1шт.

11

01010-31025

BOLT

SN: 13551-UP

4шт.

12

01602-01030

WASHER,SPRING

SN: 13551-UP

4шт.

13

6162-63-6250

CONNECTOR

SN: 13551-UP

1шт.

14

07000-02070

O-RING (K1)

SN: 13551-UP

1шт.

15

01641-21016

WASHER

SN: 13551-UP

1шт.

16

01010-31080

BOLT

SN: 13551-UP

1шт.

17

01602-01030

WASHER,SPRING

SN: 13551-UP

1шт.

18

6162-13-6411

HOUSING,THERMOSTAT

SN: 13551-UP

1шт.

19

07043-00312

PLUG

SN: 13551-UP

1шт.

20

07214-51013

CONNECTOR

SN: 13551-UP

1шт.

21

6162-23-6880

PLATE

SN: 13551-UP

1шт.

22

01010-31025

BOLT

SN: 13551-UP

4шт.

23

01010-31030

BOLT

SN: 13551-UP

3шт.

24

01602-01030

WASHER,SPRING

SN: 13551-UP

7шт.

25

600-421-6630

THERMOSTAT

SN: 13551-UP

2шт.

26

6162-13-6440

SEAL,THERMOSTAT (K1)

SN: 13551-UP

2шт.

27

6162-13-6521

COVER

SN: 13551-UP

1шт.

28

07217-51013

ELBOW

SN: 13551-UP

1шт.

29

07043-00108

PLUG

SN: 13551-UP

2шт.

30

02720-10204

PLUG

SN: 13551-UP

1шт.

31

6162-13-6430

GASKET (K1)

SN: 13551-UP

1шт.

32

6162-13-6451

PIPE,OUTLET

SN: 13551-UP

1шт.

33

6162-13-6480

GASKET (K1)

SN: 13551-UP

1шт.

34

6162-23-3340

HANGER

SN: 13551-UP

1шт.

35

01010-31095

BOLT

SN: 13551-UP

4шт.

36

01011-31035

BOLT

SN: 13551-UP

2шт.

37

6162-13-6540

BOLT

SN: 13551-UP

1шт.

38

01011-31050

BOLT

SN: 13551-UP

2шт.

39

01011-31060

BOLT

SN: 13551-UP

4шт.

40

6162-13-6530

BOLT

SN: 13551-UP

1шт.

41

01602-01030

WASHER,SPRING

SN: 13551-UP

14шт.

42

6162-83-4550

HARNESS

SN: 13551-UP

1шт.

43

01010-30612

BOLT

SN: 13551-UP

1шт.

44

01641-20608

WASHER

SN: 13551-UP

1шт.

45

01010-31235

BOLT

SN: 13551-UP

1шт.

46

01602-21236

WASHER,SPRING

SN: 13551-UP

1шт.

47

01640-01223

WASHER

SN: 13551-UP

1шт.

1

6162-13-6270

PIPE,WATER

SN: 13551-UP

5шт.

2

6162-13-6291

PIPE,WATER

SN: 13551-UP

1шт.

3

6166-11-6290

O-RING (K1)

SN: 13551-UP

12шт.

4

6162-13-6280

RING,SNAP

SN: 13551-UP

6шт.

5

07043-00415

PLUG

SN: 13551-UP

2шт.

6

07040-01612

PLUG

SN: 13551-UP

2шт.

7

07005-01612

GASKET (K1)

SN: 13551-UP

2шт.

8

600-815-1770

SWITCH,THERMO

SN: 13551-UP

1шт.

9

6162-13-6560

CONNECTOR,WATER

SN: 13551-UP

1шт.

10

6162-13-6570

GASKET (K1)

SN: 13551-UP

1шт.

11

01010-31025

BOLT

SN: 13551-UP

4шт.

12

01602-01030

WASHER,SPRING

SN: 13551-UP

4шт.

13

6162-63-6250

CONNECTOR

SN: 13551-UP

1шт.

14

07000-02070

O-RING (K1)

SN: 13551-UP

1шт.

15

01641-21016

WASHER

SN: 13551-UP

1шт.

16

01010-31080

BOLT

SN: 13551-UP

1шт.

17

01602-01030

WASHER,SPRING

SN: 13551-UP

1шт.

18

6162-13-6411

HOUSING,THERMOSTAT

SN: 13551-UP

1шт.

19

07043-00312

PLUG

SN: 13551-UP

1шт.

20

07214-51013

CONNECTOR

SN: 13551-UP

1шт.

21

6162-23-6880

PLATE

SN: 13551-UP

1шт.

22

01010-31025

BOLT

SN: 13551-UP

4шт.

23

01010-31030

BOLT

SN: 13551-UP

3шт.

24

01602-01030

WASHER,SPRING

SN: 13551-UP

7шт.

25

600-421-6630

THERMOSTAT

SN: 13551-UP

2шт.

26

6162-13-6440

SEAL,THERMOSTAT (K1)

SN: 13551-UP

2шт.

27

6162-13-6521

COVER

SN: 13551-UP

1шт.

28

07217-51013

ELBOW

SN: 13551-UP

1шт.

29

07043-00108

PLUG

SN: 13551-UP

2шт.

30

02720-10204

PLUG

SN: 13551-UP

1шт.

31

6162-13-6430

GASKET (K1)

SN: 13551-UP

1шт.

32

6162-13-6451

PIPE,OUTLET

SN: 13551-UP

1шт.

33

6162-13-6480

GASKET (K1)

SN: 13551-UP

1шт.

34

6162-23-3340

HANGER

SN: 13551-UP

1шт.

35

01010-31095

BOLT

SN: 13551-UP

4шт.

36

01011-31035

BOLT

SN: 13551-UP

2шт.

37

6162-13-6540

BOLT

SN: 13551-UP

1шт.

38

01011-31050

BOLT

SN: 13551-UP

2шт.

39

01011-31060

BOLT

SN: 13551-UP

4шт.

40

6162-13-6530

BOLT

SN: 13551-UP

1шт.

41

01602-01030

WASHER,SPRING

SN: 13551-UP

14шт.

42

6162-83-4550

HARNESS

SN: 13551-UP

1шт.

43

01010-30612

BOLT

SN: 13551-UP

1шт.

44

01641-20608

WASHER

SN: 13551-UP

1шт.

45

01010-31235

BOLT

SN: 13551-UP

1шт.

46

01602-21236

WASHER,SPRING

SN: 13551-UP

1шт.

47

01640-01223

WASHER

SN: 13551-UP

1шт.

Выбрано товаров: 94