Запчасти Komatsu D375A-3D РЫХЛИТЕЛЬ ГИДРОЦИЛИНДР ПОДЪЕМА (МОРОЗОУСТОЙЧИВ. СПЕЦ-Я) ОСНОВН. КОМПОНЕНТЫ И РЕМКОМПЛЕКТЫ

Схема запчастей Komatsu D375A-3D - РЫХЛИТЕЛЬ ГИДРОЦИЛИНДР ПОДЪЕМА (МОРОЗОУСТОЙЧИВ. СПЕЦ-Я) ОСНОВН. КОМПОНЕНТЫ И РЕМКОМПЛЕКТЫ
FIT
1:1
100%

Артикул

Название

Примечание

Количество

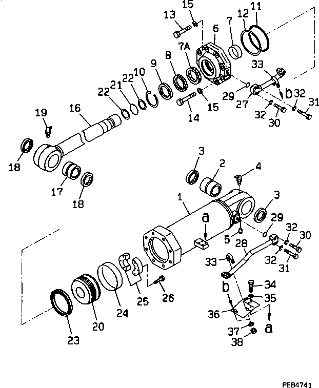
G-1

0

CYLINDER GROUP,RIPPER LIFT, L.H.

SN: 17001-UP

1шт.

G-1

0

CYLINDER GROUP,RIPPER LIFT, R.H.

SN: 17001-UP

1шт.

|$$3

====================

-1шт.

|$3

195-63-08141

CYLINDER ASS'Y

SN: 17001-UP

2шт.

1

195-63-44640

CYLINDER

SN: 17001-UP

1шт.

2

707-76-10120

BUSHING

SN: 17001-UP

1шт.

3

07145-10100

SEAL,DUST (KIT)

SN: 17001-UP

2шт.

4

07020-00675

FITTING,GREASE

SN: 17001-UP

1шт.

5

07042-10108

PLUG

SN: 17001-UP

1шт.

6

707-27-22321

HEAD,CYLINDER

SN: 17001-UP

1шт.

7

707-52-90850

BUSHING

SN: 17001-UP

1шт.

7A

707-51-11630

RING,BUFFER (KIT)

SN: 17001-UP

1шт.

8

707-51-11731

U-PACKING,ROD (KIT)

SN: 17001-UP

1шт.

9

198-63-94170

SEAL,DUST (KIT)

SN: 17001-UP

1шт.

10

07179-13126

RING,SNAP

SN: 17001-UP

1шт.

11

07000-55220

O-RING (KIT)

SN: 17001-UP

1шт.

12

07001-05220

RING,BACK-UP (KIT)

SN: 17001-UP

1шт.

13

01010-82795

BOLT

SN: 17001-UP

6шт.

14

01011-82705

BOLT

SN: 17001-UP

2шт.

15

01643-32780

WASHER

SN: 17001-UP

8шт.

16

195-63-44221

ROD,PISTON

SN: 17001-UP

1шт.

17

707-76-10110

BUSHING

SN: 17001-UP

1шт.

18

07145-10100

SEAL,DUST (KIT)

SN: 17001-UP

2шт.

19

07020-00900

FITTING,GREASE

SN: 17001-UP

1шт.

20

707-36-22050

PISTON

SN: 17001-UP

1шт.

21

07000-52085

O-RING (KIT)

SN: 17001-UP

1шт.

22

07001-02085

RING,BACK-UP (KIT)

SN: 17001-UP

2шт.

23

707-44-22280

RING,PISTON (KIT)

SN: 17001-UP

1шт.

24

07155-02250

RING,WEAR (KIT)

SN: 17001-UP

1шт.

25

707-40-22021

SPACER

SN: 17001-UP

2шт.

26

01010-31455

BOLT

SN: 17001-UP

6шт.

27

195-78-72450

TUBE,L.H.

SN: 17001-UP

1шт.

27

195-78-72460

TUBE,R.H.

SN: 17001-UP

1шт.

28

195-78-72430

TUBE,L.H.

SN: 17001-UP

1шт.

28

195-78-72440

TUBE,R.H.

SN: 17001-UP

1шт.

29

07000-53035

O-RING (KIT)

SN: 17001-UP

2шт.

30

01010-51050

BOLT

SN: 17001-UP

4шт.

31

01010-51060

BOLT

SN: 17001-UP

4шт.

32

01602-21030

WASHER,SPRING

SN: 17001-UP

8шт.

33

07283-23450

CLIP

SN: 17001-UP

2шт.

34

01010-51025

BOLT

SN: 17001-UP

4шт.

35

01643-31032

WASHER

SN: 17001-UP

4шт.

36

195-78-72550

BRACKET,L.H.

SN: 17001-UP

1шт.

36

195-78-72560

BRACKET,R.H.

SN: 17001-UP

1шт.

37

01643-31032

WASHER

SN: 17001-UP

4шт.

38

01599-01011

NUT

SN: 17001-UP

4шт.

|$$47

====================

-1шт.

|$47

707-99-74430

SERVICE KIT

SN: 17001-UP

2шт.

Выбрано товаров: 48