Запчасти Komatsu D375A-5 АПТЕЧКА(№8-8) КАБИНА ОПЕРАТОРА И СИСТЕМА УПРАВЛЕНИЯ

Схема запчастей Komatsu D375A-5 - АПТЕЧКА(№8-8) КАБИНА ОПЕРАТОРА И СИСТЕМА УПРАВЛЕНИЯ
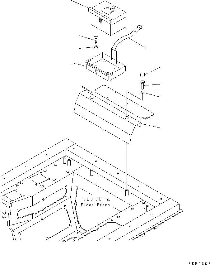
1
2
3
4
5
6
7
8
9
FIT
1:1
100%

Артикул

Название

Примечание

Количество

1

17A-911-1810

COVER

SN: 18001-18134

1шт.

2

01220-40616

SCREW

SN: 18001-18134

4шт.

3

01642-20608

WASHER

SN: 18001-18134

4шт.

4

17A-911-1840

BRACKET

SN: 18001-18134

1шт.

5

01010-81020

BOLT

SN: 18001-18134

2шт.

6

01643-31032

WASHER

SN: 18001-18134

2шт.

7

09415-02512

CAP

SN: 18001-18134

2шт.

8

17A-911-1830

BOX

SN: 18001-18134

1шт.

9

195-911-6562

BAND

SN: 18001-18134

1шт.

Выбрано товаров: 9