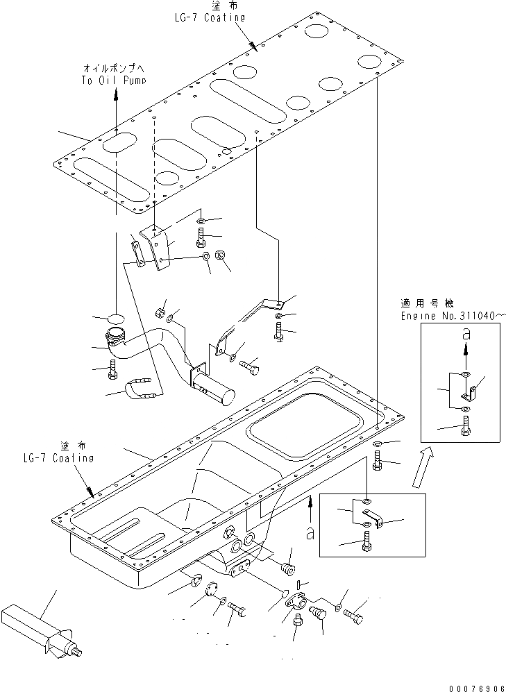
Запчасти Komatsu SA6D170E-3A-7 МАСЛЯНЫЙ ПОДДОН И ВСАСЫВАЮЩИЙ ПАТРУБОК(№-) ДВИГАТЕЛЬ

Схема запчастей Komatsu SA6D170E-3A-7 - МАСЛЯНЫЙ ПОДДОН И ВСАСЫВАЮЩИЙ ПАТРУБОК(№-) ДВИГАТЕЛЬ
1
2
3
4
5
5
6
6
7
7
8
9
10
11
12
13
14
15
16
17
18
19
20
21
22
23
24
25
26
26A
27
28
29
30
31
32
33
34
35
36
1
2
3
4
5
5
6
6
7
7
8
9
10
11
12
13
14
15
16
17
18
19
20
21
22
23
24
25
26
26A
27
28
29
30
31
32
33
34
35
36
FIT
1:1
100%

Артикул

Название

Примечание

Количество

1

6240-21-5130

PAN,OIL

SN: 310120-UP

1шт.

2

6240-21-5290

PLATE

SN: 310120-UP

1шт.

3

01010-81035

BOLT

SN: 310120-UP

50шт.

4

01640-21016

WASHER

SN: 310695-UP

49шт.

4

01640-21016

WASHER

SN: 310120-310694

50шт.

5

417-15-14561

PLATE

SN: 311040-UP

1шт.

5

426-35-11590

BRACKET

SN: 310120-311039

1шт.

6

01010-81045

BOLT

SN: 310120-UP

1шт.

7

01643-31032

WASHER

SN: 310120-UP

2шт.

8

02720-41616

PLUG

SN: 310120-UP

2шт.

|$15

6693-22-5600

VALVE ASS'Y

SN: 310120-UP

1шт.

9

0

BODY

SN: 310120-UP

1шт.

10

0

VALVE,DRAIN

SN: 310120-UP

1шт.

11

07040-02412

PLUG

SN: 310120-UP

1шт.

12

04020-00514

PIN,DOWEL

SN: 310120-UP

1шт.

13

07000-73028

O-RING (K2)

SN: 310120-UP

1шт.

14

01010-81025

BOLT

SN: 310120-UP

2шт.

15

01640-21016

WASHER

SN: 310120-UP

2шт.

16

6136-21-5770

PLATE

SN: 310120-UP

1шт.

17

6136-21-5870

GASKET (K2)

SN: 310120-UP

1шт.

18

01435-00612

BOLT

SN: 311264-UP

3шт.

18

01010-80612

BOLT

SN: 310120-311263

3шт.

19

01641-00608

WASHER

SN: 310120-311263

3шт.

20

6240-51-6311

TUBE

SN: 310120-UP

1шт.

21

07000-E2060

O-RING (K2)

SN: 310120-UP

1шт.

22

01010-81030

BOLT

SN: 310120-UP

1шт.

23

6240-51-6340

BRACKET

SN: 310120-UP

1шт.

24

01010-81030

BOLT

SN: 310120-UP

1шт.

25

6110-23-6490

SPACER

SN: 310120-UP

1шт.

26

01010-81025

BOLT

SN: 310120-UP

1шт.

26A

01643-31032

WASHER

SN: 310120-UP

1шт.

27

01580-01008

NUT

SN: 310120-UP

1шт.

28

01643-31032

WASHER

SN: 310120-UP

2шт.

29

6240-51-6370

BRACKET

SN: 310120-UP

1шт.

30

01010-81035

BOLT

SN: 310120-UP

1шт.

31

01643-31032

WASHER

SN: 310120-UP

1шт.

32

07283-36163

CLIP

SN: 310120-UP

1шт.

33

6240-51-6391

PLATE

SN: 311764-UP

1шт.

33

0

PLATE

SN: 310120-311763

1шт.

34

01597-01009

NUT

SN: 310120-UP

2шт.

35

01643-31032

WASHER

SN: 310120-UP

2шт.

36

09920-00150

LIQUID GASKET,LG-7, 150G

SN: 310120-UP

-2шт.

1

6240-21-5130

PAN,OIL

SN: 310120-UP

1шт.

2

6240-21-5290

PLATE

SN: 310120-UP

1шт.

3

01010-81035

BOLT

SN: 310120-UP

50шт.

4

01640-21016

WASHER

SN: 310695-UP

49шт.

4

01640-21016

WASHER

SN: 310120-310694

50шт.

5

417-15-14561

PLATE

SN: 311040-UP

1шт.

5

426-35-11590

BRACKET

SN: 310120-311039

1шт.

6

01010-81045

BOLT

SN: 310120-UP

1шт.

7

01643-31032

WASHER

SN: 310120-UP

2шт.

8

02720-41616

PLUG

SN: 310120-UP

2шт.

|$15

6693-22-5600

VALVE ASS'Y

SN: 310120-UP

1шт.

9

0

BODY

SN: 310120-UP

1шт.

10

0

VALVE,DRAIN

SN: 310120-UP

1шт.

11

07040-02412

PLUG

SN: 310120-UP

1шт.

12

04020-00514

PIN,DOWEL

SN: 310120-UP

1шт.

13

07000-73028

O-RING (K2)

SN: 310120-UP

1шт.

14

01010-81025

BOLT

SN: 310120-UP

2шт.

15

01640-21016

WASHER

SN: 310120-UP

2шт.

16

6136-21-5770

PLATE

SN: 310120-UP

1шт.

17

6136-21-5870

GASKET (K2)

SN: 310120-UP

1шт.

18

01435-00612

BOLT

SN: 311264-UP

3шт.

18

01010-80612

BOLT

SN: 310120-311263

3шт.

19

01641-00608

WASHER

SN: 310120-311263

3шт.

20

6240-51-6311

TUBE

SN: 310120-UP

1шт.

21

07000-E2060

O-RING (K2)

SN: 310120-UP

1шт.

22

01010-81030

BOLT

SN: 310120-UP

1шт.

23

6240-51-6340

BRACKET

SN: 310120-UP

1шт.

24

01010-81030

BOLT

SN: 310120-UP

1шт.

25

6110-23-6490

SPACER

SN: 310120-UP

1шт.

26

01010-81025

BOLT

SN: 310120-UP

1шт.

26A

01643-31032

WASHER

SN: 310120-UP

1шт.

27

01580-01008

NUT

SN: 310120-UP

1шт.

28

01643-31032

WASHER

SN: 310120-UP

2шт.

29

6240-51-6370

BRACKET

SN: 310120-UP

1шт.

30

01010-81035

BOLT

SN: 310120-UP

1шт.

31

01643-31032

WASHER

SN: 310120-UP

1шт.

32

07283-36163

CLIP

SN: 310120-UP

1шт.

33

6240-51-6391

PLATE

SN: 311764-UP

1шт.

33

0

PLATE

SN: 310120-311763

1шт.

34

01597-01009

NUT

SN: 310120-UP

2шт.

35

01643-31032

WASHER

SN: 310120-UP

2шт.

36

09920-00150

LIQUID GASKET,LG-7, 150G

SN: 310120-UP

-2шт.

Выбрано товаров: 84