Запчасти Komatsu D375A-5D АПТЕЧКА(№77-899) КАБИНА ОПЕРАТОРА И СИСТЕМА УПРАВЛЕНИЯ

Схема запчастей Komatsu D375A-5D - АПТЕЧКА(№77-899) КАБИНА ОПЕРАТОРА И СИСТЕМА УПРАВЛЕНИЯ
1
2
3
4
5
6
7
8
9
1
2
3
4
4
5
5
6
7
7
8
8
9
10
11
12
13
14
15
FIT
1:1
100%

Артикул

Название

Примечание

Количество

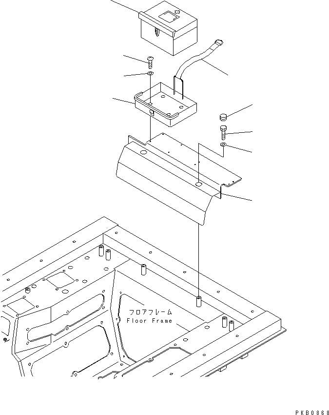
1

17A-911-1810

COVER

SN: 17743-18199

1шт.

2

01220-40616

SCREW

SN: 17743-18199

4шт.

3

01642-20608

WASHER

SN: 17743-18199

4шт.

4

17A-911-1840

BRACKET

SN: 17743-18199

1шт.

5

01010-81020

BOLT

SN: 17743-18199

2шт.

6

01643-31032

WASHER

SN: 17743-18199

2шт.

7

09415-02512

CAP

SN: 17743-18199

2шт.

8

17A-911-1830

BOX

SN: 17743-18199

1шт.

9

195-911-6562

BAND

SN: 17743-18199

1шт.

1

198-Z11-3812

DUCT

2

01245-00835

SCREW

3

01245-00820

SCREW

4

01643-70823

WASHER

5

198-Z11-3821

DUCT,L.H.

5

198-Z11-3831

DUCT,R.H.

6

01435-40616

BOLT

7

14X-54-18270

GRILLE ASS'Y

8

198-Z11-3850

BRACKET,L.H.

8

198-Z11-3860

BRACKET,R.H.

9

01245-00616

SCREW

10

01643-70623

WASHER

11

198-Z11-3890

PLATE

12

01245-00616

SCREW

13

01643-70623

WASHER

14

17A-54-18270

GRILLE ASS'Y

15

198-Z11-3910

PLATE

Выбрано товаров: 26