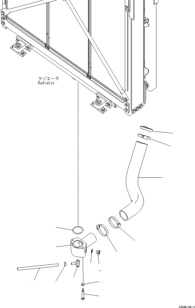
Запчасти Komatsu D375A-5E0 СИСТЕМА ТРУБ ОХЛАЖДЕНИЯ (OUTЛИНИЯ) СИСТЕМА ОХЛАЖДЕНИЯ

Схема запчастей Komatsu D375A-5E0 - СИСТЕМА ТРУБ ОХЛАЖДЕНИЯ (OUTЛИНИЯ) СИСТЕМА ОХЛАЖДЕНИЯ
1
2
3
4
5
6
6
6
6
7
8
9
10
11
FIT
1:1
100%

Артикул

Название

Примечание

Количество

1

195-03-64212

TUBE

SN: 50077-UP

1шт.

1

0

TUBE

SN: 50001-50076

1шт.

2

07040-12412

PLUG

SN: 50001-UP

1шт.

3

07002-62434

O-RING

SN: 50001-UP

1шт.

4

07000-G2075

O-RING

SN: 50001-UP

1шт.

5

195-03-64222

HOSE

SN: 50077-UP

1шт.

5

0

HOSE

SN: 50001-50076

1шт.

6

07289-00095

CLAMP

SN: 50001-UP

4шт.

7

01011-81215

BOLT

SN: 50001-UP

2шт.

8

01643-31232

WASHER

SN: 50001-UP

2шт.

9

07730-50004

VALVE

SN: 50001-UP

1шт.

10

07285-00155

CLIP

SN: 50001-UP

1шт.

11

175-03-31530

HOSE

SN: 50001-UP

1шт.

Выбрано товаров: 13