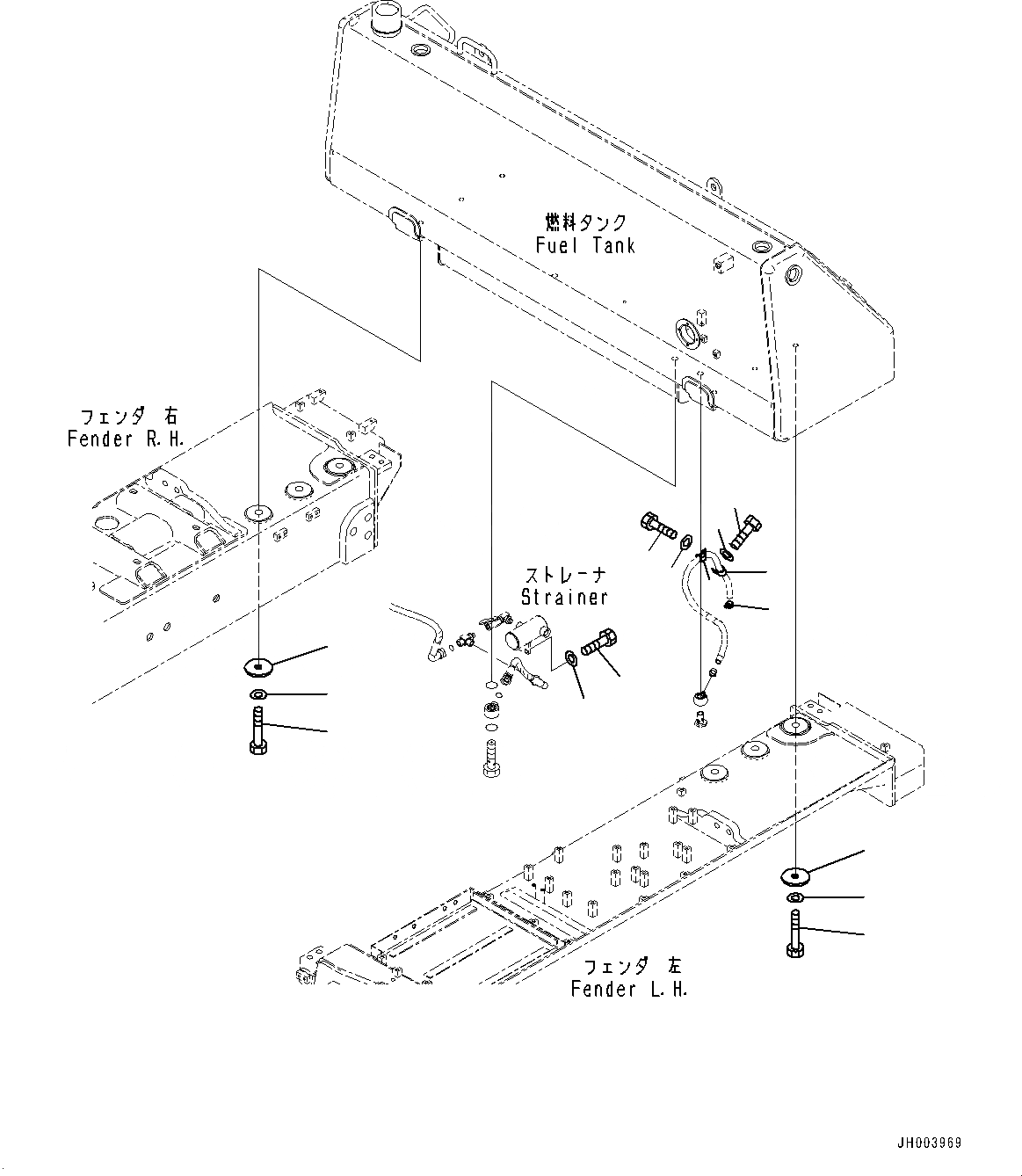
Запчасти Komatsu D375A-6 ТОПЛИВН. БАК., КОМПОНЕНТЫ (№-) ТОПЛИВН. БАК., С ТОПЛИВН. БЫСТР. ЗАПРАВ. СИСТЕМА

Схема запчастей Komatsu D375A-6 - ТОПЛИВН. БАК., КОМПОНЕНТЫ (№-) ТОПЛИВН. БАК., С ТОПЛИВН. БЫСТР. ЗАПРАВ. СИСТЕМА
9
8
7
7
8
9
5
6
1
2
4
3
4
3
2
FIT
1:1
100%

Артикул

Название

Примечание

Количество

1

07281-00259

Clamp

SN: 60001-UP

1шт.

2

04434-52512

Clip

SN: 60001-UP

2шт.

3

01010-81220

Bolt

SN: 60001-UP

2шт.

4

01643-31232

Washer

SN: 60001-UP

2шт.

5

01010-81230

Bolt

SN: 60003-UP

2шт.

6

01643-31232

Washer

SN: 60003-UP

2шт.

7

01011-82405

Bolt

SN: 60001-UP

6шт.

8

01643-32460

Washer

SN: 60001-UP

6шт.

9

195-04-31150

Plate

SN: 60001-UP

6шт.

Выбрано товаров: 0