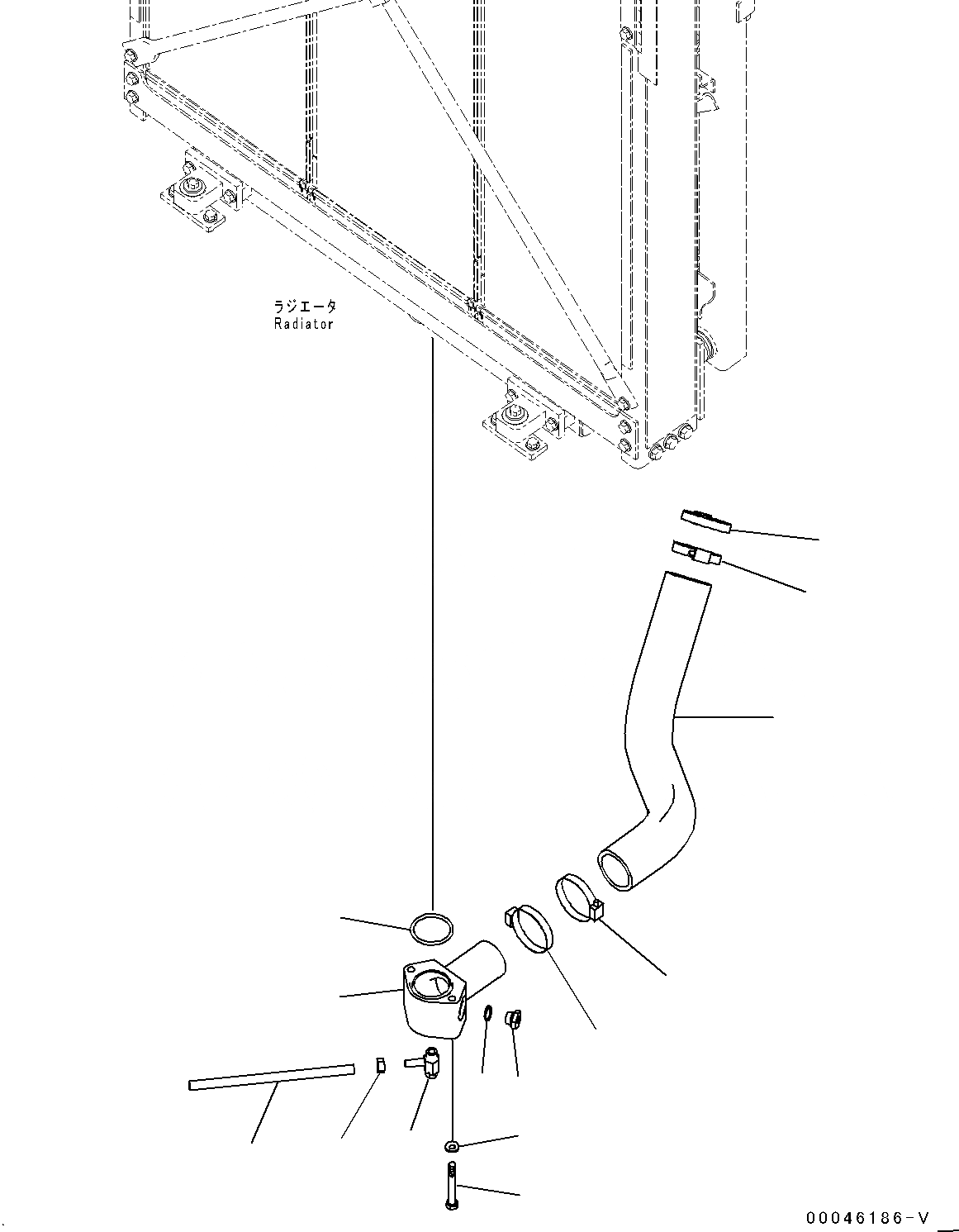
Запчасти Komatsu D375A-6R СИСТЕМА ТРУБ ОХЛАЖДЕНИЯ, ОХЛАЖД-Е OUTЛИНИЯ (№-) СИСТЕМА ТРУБ ОХЛАЖДЕНИЯ

Схема запчастей Komatsu D375A-6R - СИСТЕМА ТРУБ ОХЛАЖДЕНИЯ, ОХЛАЖД-Е OUTЛИНИЯ (№-) СИСТЕМА ТРУБ ОХЛАЖДЕНИЯ
2
10
11
9
6
6
6
6
7
8
5
1
3
4
FIT
1:1
100%

Артикул

Название

Примечание

Количество

1

195-03-64212

Tube

SN: 65001-UP

1шт.

2

07040-12412

Plug

SN: 65001-UP

1шт.

3

07002-62434

O-ring

SN: 65001-UP

1шт.

4

07000-G2075

O-ring

SN: 65001-UP

1шт.

5

195-03-64222

Hose

SN: 65001-UP

1шт.

6

07289-00095

Clamp

SN: 65001-UP

4шт.

7

01011-81215

Bolt

SN: 65001-UP

2шт.

8

01643-31232

Washer

SN: 65001-UP

2шт.

9

07730-50004

Valve, Drain

SN: 65001-UP

1шт.

10

07285-00155

Clip

SN: 65001-UP

1шт.

11

175-03-31530

Hose

SN: 65001-UP

1шт.

Выбрано товаров: 11