Запчасти Komatsu D37E-5 ГИДРОЛИНИЯ (ИЗ БАКА В НАСОС - КЛАПАН)(№-7) ГИДРАВЛИКА

Схема запчастей Komatsu D37E-5 - ГИДРОЛИНИЯ (ИЗ БАКА В НАСОС - КЛАПАН)(№-7) ГИДРАВЛИКА
FIT
1:1
100%

Артикул

Название

Примечание

Количество

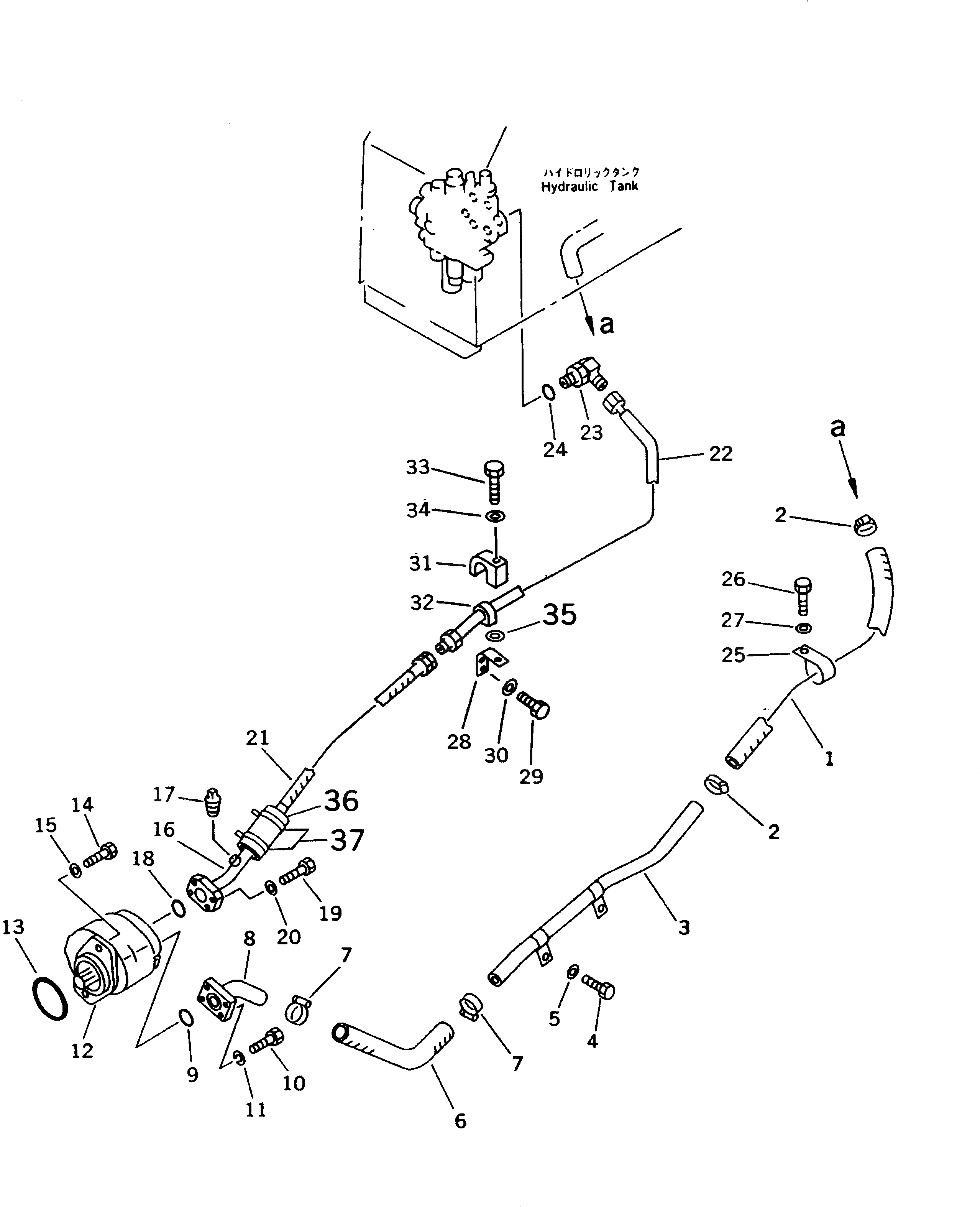
1

07260-23271

HOSE

SN: 3001-3730

1шт.

2

07281-00489

CLAMP

SN: 3001-3730

2шт.

3

113-62-41110

TUBE

SN: 3001-3730

1шт.

4

01010-51025

BOLT

SN: 3001-3730

2шт.

5

01643-31032

WASHER

SN: 3001-3730

2шт.

6

113-62-41120

HOSE

SN: 3001-3730

1шт.

7

07281-00489

CLAMP

SN: 3001-3730

2шт.

8

113-62-41130

PIPE

SN: 3001-3730

1шт.

9

07000-03035

O-RING

SN: 3001-3730

1шт.

10

01010-51035

BOLT

SN: 3001-3730

4шт.

11

01602-21030

WASHER,SPRING

SN: 3001-3730

4шт.

12

705-21-31020

PUMP ASS'Y (SAL2-36)

SN: 3001-3730

1шт.

13

07000-02105

O-RING

SN: 3001-3730

1шт.

14

01010-51235

BOLT

SN: 3001-3730

2шт.

15

01643-31232

WASHER

SN: 3001-3730

2шт.

16

113-62-41240

TUBE

SN: 3001-3730

1шт.

17

07042-30108

PLUG

SN: 3001-3730

1шт.

18

07000-13030

O-RING

SN: 3001-3730

1шт.

19

01010-50840

BOLT

SN: 3001-3730

4шт.

20

01643-30823

WASHER

SN: 3001-3730

4шт.

21

07108-20605

HOSE

SN: 3001-3730

1шт.

22

113-62-41220

TUBE

SN: 3001-3730

1шт.

23

113-62-21240

ELBOW

SN: 3001-3730

1шт.

24

07002-13334

O-RING

SN: 3001-3730

1шт.

25

176-911-1690

CLIP

SN: 3001-3730

1шт.

26

01010-51020

BOLT

SN: 3001-3730

1шт.

27

01643-31032

WASHER

SN: 3001-3730

1шт.

28

113-62-41610

BRACKET

SN: 3001-3730

1шт.

29

01010-51025

BOLT

SN: 3001-3730

2шт.

30

01643-31032

WASHER

SN: 3001-3730

2шт.

31

203-62-43370

CLAMP

SN: 3001-3730

1шт.

32

203-62-43380

CUSHION

SN: 3001-3730

1шт.

33

01010-51270

BOLT

SN: 3001-3730

1шт.

34

01643-31232

WASHER

SN: 3001-3730

1шт.

35

01641-21223

WASHER

SN: 3001-3730

1шт.

36

203-62-41150

COVER

SN: 3001-3730

1шт.

37

08034-00823

BAND

SN: 3001-3730

2шт.

Выбрано товаров: 37