Запчасти Komatsu D37EX-21 ВОДООТДЕЛИТЕЛЬ ТОПЛИВН. БАК. AND КОМПОНЕНТЫ

Схема запчастей Komatsu D37EX-21 - ВОДООТДЕЛИТЕЛЬ ТОПЛИВН. БАК. AND КОМПОНЕНТЫ
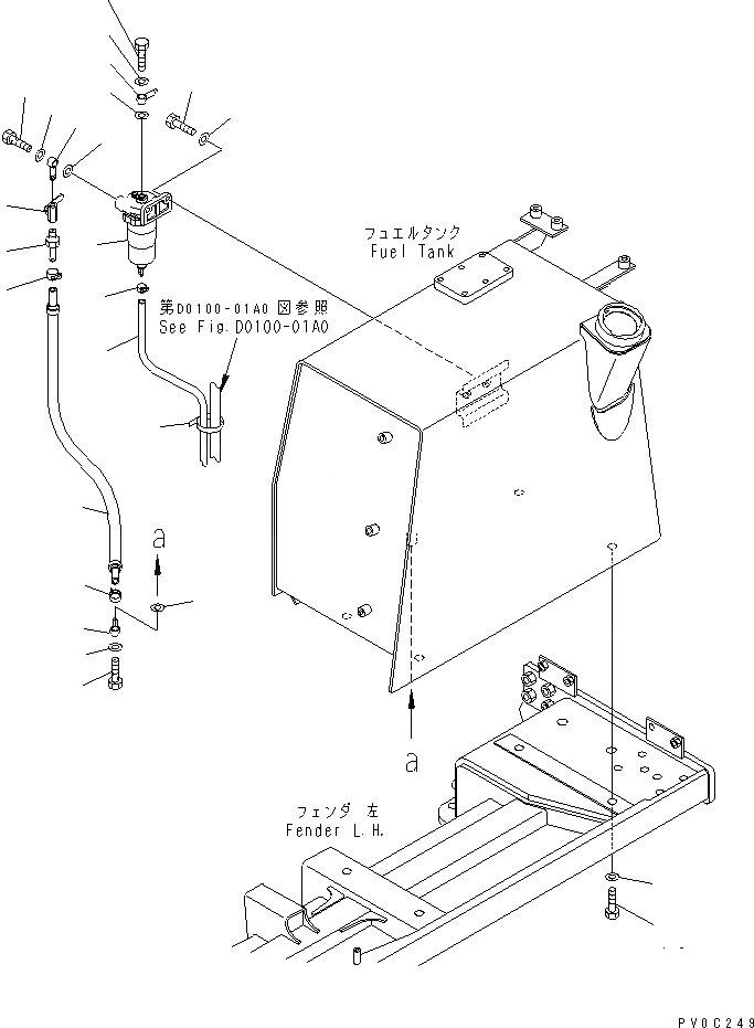
1
2
3
3
4
4
4
4
5
6
7
8
9
9
10
11
12
13
14
14
15
16
17
18
19
FIT
1:1
100%

Артикул

Название

Примечание

Количество

1

22U-04-21131

WATER SEPARATOR

SN: 5001-UP

1шт.

2

6144-71-5750

JOINT

SN: 5001-UP

1шт.

3

07206-31014

BOLT

SN: 5001-UP

2шт.

4

07005-01412

SEAL, WASHER

SN: 5001-UP

4шт.

5

205-04-62140

JOINT

SN: 5001-UP

1шт.

6

07700-40240

VALVE

SN: 5001-UP

1шт.

7

120-04-41130

NIPPLE

SN: 5001-UP

1шт.

8

11Y-04-11160

HOSE ASS'Y

SN: 5001-UP

1шт.

9

11Y-09-11140

CLIP

SN: 5001-UP

2шт.

10

07270-00640

TUBE

SN: 5001-UP

1шт.

11

07285-00068

CLIP

SN: 5001-UP

1шт.

12

205-04-62150

JOINT

SN: 5001-UP

1шт.

13

07206-31014

BOLT

SN: 5001-UP

1шт.

14

07005-01412

SEAL, WASHER

SN: 5001-UP

2шт.

15

01010-81025

BOLT

SN: 5001-UP

2шт.

16

01643-81032

WASHER

SN: 5001-UP

2шт.

17

08034-20414

BAND

SN: 5001-UP

1шт.

18

01010-81645

BOLT

SN: 5001-UP

4шт.

19

01643-31645

WASHER

SN: 5001-UP

4шт.

Выбрано товаров: 0