Запчасти Komatsu D37EX-21 КЛАПАН PPC(ДЛЯ РУЛЕВ. УПРАВЛЕНИЕ)(№-99) ОСНОВН. КОМПОНЕНТЫ И РЕМКОМПЛЕКТЫ

Схема запчастей Komatsu D37EX-21 - КЛАПАН PPC(ДЛЯ РУЛЕВ. УПРАВЛЕНИЕ)(№-99) ОСНОВН. КОМПОНЕНТЫ И РЕМКОМПЛЕКТЫ
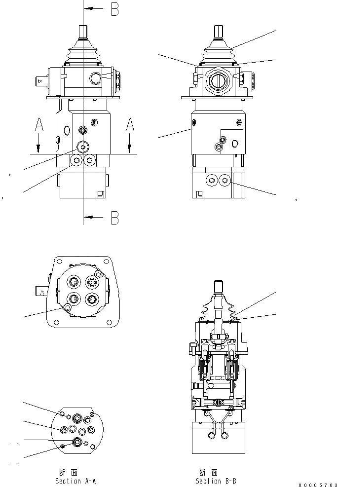
1
2
3
4
5
6
7
8
9
10
11
12
13
13
14
14
15
FIT
1:1
100%

Артикул

Название

Примечание

Количество

1

702-16-03831

PILOT VALVE

SN: 5117-UP

1шт.

1

702-16-03830

PILOT VALVE

SN: 5105-5116

1шт.

|$6

0

LEVER SUB ASS'Y

SN: 5105-UP

1шт.

2

702-16-59231

PLATE

SN: 5105-UP

1шт.

3

01252-60512

BOLT

SN: 5105-UP

4шт.

4

702-16-59560

BRACKET

SN: 5105-UP

1шт.

5

702-16-61980

SCREW

SN: 5105-UP

4шт.

6

702-16-59330

BOOT

SN: 5105-UP

1шт.

|$12

0

BODY SUB ASS'Y

SN: 5117-UP

1шт.

|$13

0

BODY SUB ASS'Y

SN: 5105-5116

1шт.

7

702-21-55620

PLUG

SN: 5105-UP

2шт.

8

07002-11423

O-RING

SN: 5105-UP

2шт.

9

07000-11010

O-RING

SN: 5105-UP

5шт.

10

702-16-72320

O-RING

SN: 5105-UP

2шт.

11

723-11-19480

O-RING

SN: 5105-UP

2шт.

12

708-7R-11720

FILTER

SN: 5105-UP

2шт.

|$20

0

VALVE SUB ASS'Y

SN: 5117-UP

1шт.

|$21

0

VALVE SUB ASS'Y

SN: 5105-5116

1шт.

13

702-16-72430

PLUG

SN: 5105-UP

8шт.

14

07002-11623

O-RING

SN: 5105-UP

8шт.

15

01252-60880

BOLT

SN: 5105-UP

2шт.

Выбрано товаров: 0