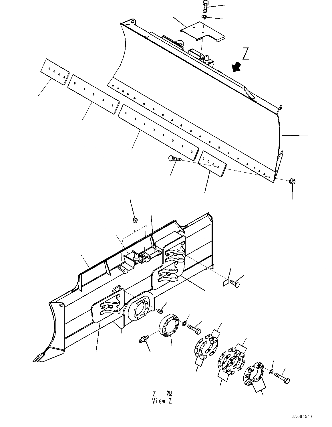
Запчасти Komatsu D37EX-22 DOZER ОТВАЛ, (№-) DOZER ОТВАЛ, ШИР. 7MM

Схема запчастей Komatsu D37EX-22 - DOZER ОТВАЛ, (№-) DOZER ОТВАЛ, ШИР. 7MM
1
2
3
4
5
6
7
8
11
12
13
16
19
20
21
22
27
28
20
21
14
8
15
18
17
24
23
9
10
25
26
FIT
1:1
100%

Артикул

Название

Примечание

Количество

|$0

11Y-72-36102

Blade Assembly

SN: 60543-UP

1шт.

1

Blade

SN: 60001-UP

1шт.

2

11Y-72-35131

Bracket,Welded

SN: 60001-UP

1шт.

3

11Y-72-36141

Bracket,Welded

SN: 60001-UP

1шт.

4

11Y-72-36281

Bracket,Welded

SN: 60001-UP

1шт.

5

11Y-72-36291

Bracket,Welded

SN: 60001-UP

1шт.

6

11Y-72-36381

Bracket,Welded

SN: 60001-UP

1шт.

7

11Y-72-36272

Bracket

SN: 60543-UP

1шт.

8

112-946-1510

End Bit

SN: 60001-UP

2шт.

9

12F-70-31281

Cutting Edge

SN: 60001-UP

1шт.

10

11Y-72-12330

Cutting Edge

SN: 60001-UP

1шт.

11

02090-11050

Bolt

SN: 60001-UP

21шт.

12

02290-11016

Nut

SN: 60001-UP

21шт.

13

11Y-72-35480

Cover

SN: 60543-UP

1шт.

14

01010-81225

Bolt

SN: 60001-UP

2шт.

15

01643-31232

Washer

SN: 60001-UP

2шт.

16

11Y-72-31461

Bearing

SN: 60001-UP

1шт.

17

01010-81265

Bolt

SN: 60001-UP

2шт.

18

01643-31232

Washer

SN: 60001-UP

2шт.

19

07020-00000

Fitting, Grease

SN: 60001-UP

1шт.

20

11Y-72-21441

Shim, T=1.0mm

SN: 60001-UP

4шт.

21

11Y-72-21451

Shim, T=2.0mm

SN: 60001-UP

6шт.

22

11Y-72-31281

Cap

SN: 60001-UP

2шт.

23

01011-82020

Bolt

SN: 60001-UP

8шт.

24

01643-32060

Washer

SN: 60001-UP

8шт.

25

07049-01012

Plug

SN: 60543-UP

2шт.

26

07049-01215

Plug

SN: 60543-UP

4шт.

27

09601-50000

Plate, Name (Limited Supply), EU Regulation

SN: 60001-UP

1шт.

28

04418-13060

Screw

SN: 60001-UP

4шт.

Выбрано товаров: 29