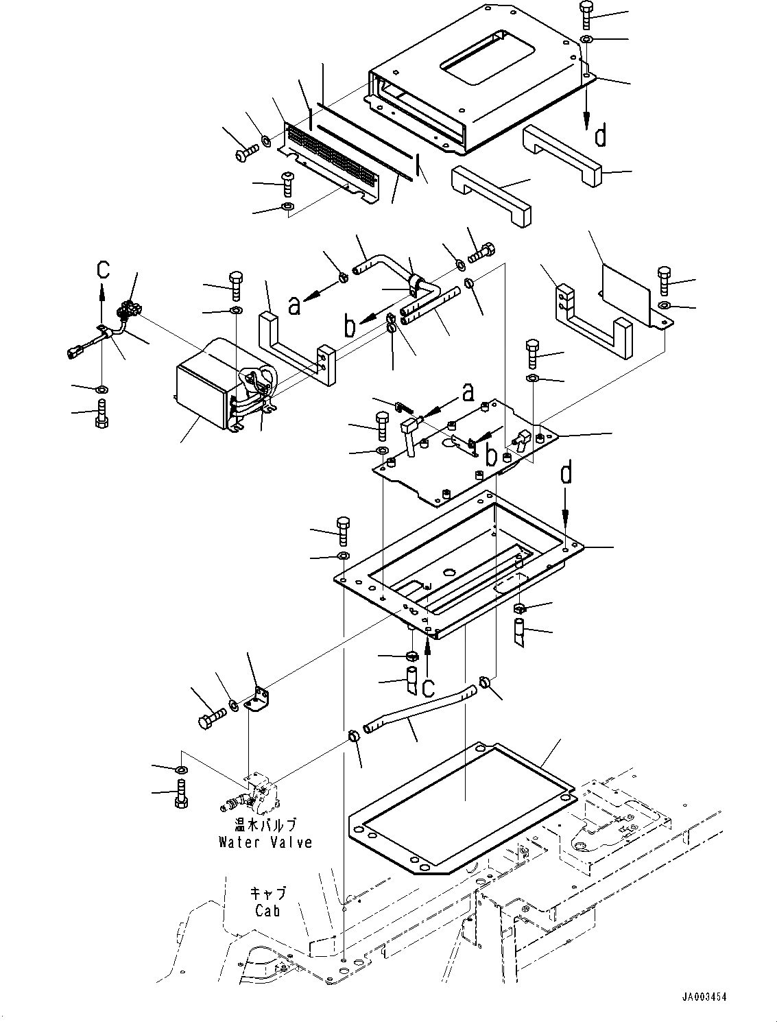
Запчасти Komatsu D37EX-22 КАБИНА ROPS, ДОПОЛН. ОБОГРЕВАТ БЛОК (№-) КАБИНА ROPS, ДЛЯ СТРАН ЕС REGULATIONS FLEXIBILITY SCHEME, PROVISION ДЛЯ РАДИО

Схема запчастей Komatsu D37EX-22 - КАБИНА ROPS, ДОПОЛН. ОБОГРЕВАТ БЛОК (№-) КАБИНА ROPS, ДЛЯ СТРАН ЕС REGULATIONS FLEXIBILITY SCHEME, PROVISION ДЛЯ РАДИО
7
13
24
33
34
23
21
20
10
9
29
28
14
16
15
30
31
31
25
8
32
39
36
37
35
19
25
32
33
26
22
6
7
38
38
47
48
44
46
45
47
48
45
46
41
41
40
43
42
18
17
27
12
12
4
5
2
1
3
11
FIT
1:1
100%

Артикул

Название

Примечание

Количество

1

12Y-979-1350

Bracket

SN: 60001-UP

1шт.

2

01010-81020

Bolt

SN: 60001-UP

2шт.

3

01643-31032

Washer

SN: 60001-UP

2шт.

4

01010-80616

Bolt

SN: 60001-UP

2шт.

5

01643-30623

Washer

SN: 60001-UP

2шт.

6

12Y-979-1361

Hose

SN: 60001-UP

1шт.

7

11Y-09-11160

Clip

SN: 60001-UP

2шт.

8

12Y-979-1370

Plate

SN: 60001-UP

1шт.

9

01010-81020

Bolt

SN: 60001-UP

2шт.

10

01643-31032

Washer

SN: 60001-UP

2шт.

11

09483-10504

Hose

SN: 60001-UP

1шт.

12

09479-02400

Clip

SN: 60001-UP

2шт.

13

01010-81020

Bolt

SN: 60001-UP

1шт.

14

01643-31032

Washer

SN: 60001-UP

1шт.

15

04434-52711

Clip

SN: 60001-UP

1шт.

16

07095-20420

Cushion

SN: 60001-UP

1шт.

17

01010-81020

Bolt

SN: 60001-UP

1шт.

18

01643-31032

Washer

SN: 60001-UP

1шт.

19

208-987-3680

Heater Assembly

SN: 60001-UP

1шт.

20

01010-81020

Bolt

SN: 60001-UP

4шт.

21

01643-31032

Washer

SN: 60001-UP

4шт.

22

12Y-977-1112

Bracket

SN: 60001-UP

1шт.

23

01010-81020

Bolt

SN: 60001-UP

4шт.

24

01643-31032

Washer

SN: 60001-UP

4шт.

25

12Y-977-1121

Seal

SN: 60001-UP

2шт.

26

12Y-977-1143

Bracket

SN: 60001-UP

1шт.

27

12Y-977-1211

Seal

SN: 60001-UP

1шт.

28

01010-81230

Bolt

SN: 60001-UP

4шт.

29

01643-31232

Washer

SN: 60001-UP

4шт.

30

12Y-979-1380

Hose

SN: 60001-UP

1шт.

31

11Y-09-11160

Clip

SN: 60001-UP

2шт.

32

22B-979-1880

Connector

SN: 60001-UP

2шт.

33

07285-00230

Clip

SN: 60001-UP

2шт.

34

12Y-977-1193

Wiring Harness

SN: 60001-UP

1шт.

35

04434-51410

Clip

SN: 60001-UP

1шт.

36

01010-81020

Bolt

SN: 60001-UP

1шт.

37

01643-31032

Washer

SN: 60001-UP

1шт.

38

08034-20519

Band

SN: 60001-UP

2шт.

39

12Y-06-13380

Seal

SN: 60001-UP

1шт.

40

12Y-57-11113

Bracket

SN: 60001-UP

1шт.

41

12Y-57-11131

Seal

SN: 60001-UP

2шт.

42

01010-81230

Bolt

SN: 60001-UP

4шт.

43

01643-31232

Washer

SN: 60001-UP

4шт.

44

12Y-57-11161

Cover

SN: 60001-UP

1шт.

45

12Y-57-11170

Seal

SN: 60001-UP

2шт.

46

12Y-57-11181

Seal

SN: 60001-UP

2шт.

47

01245-00620

Screw

SN: 60001-UP

4шт.

48

01643-70623

Washer

SN: 60001-UP

4шт.

Выбрано товаров: 48