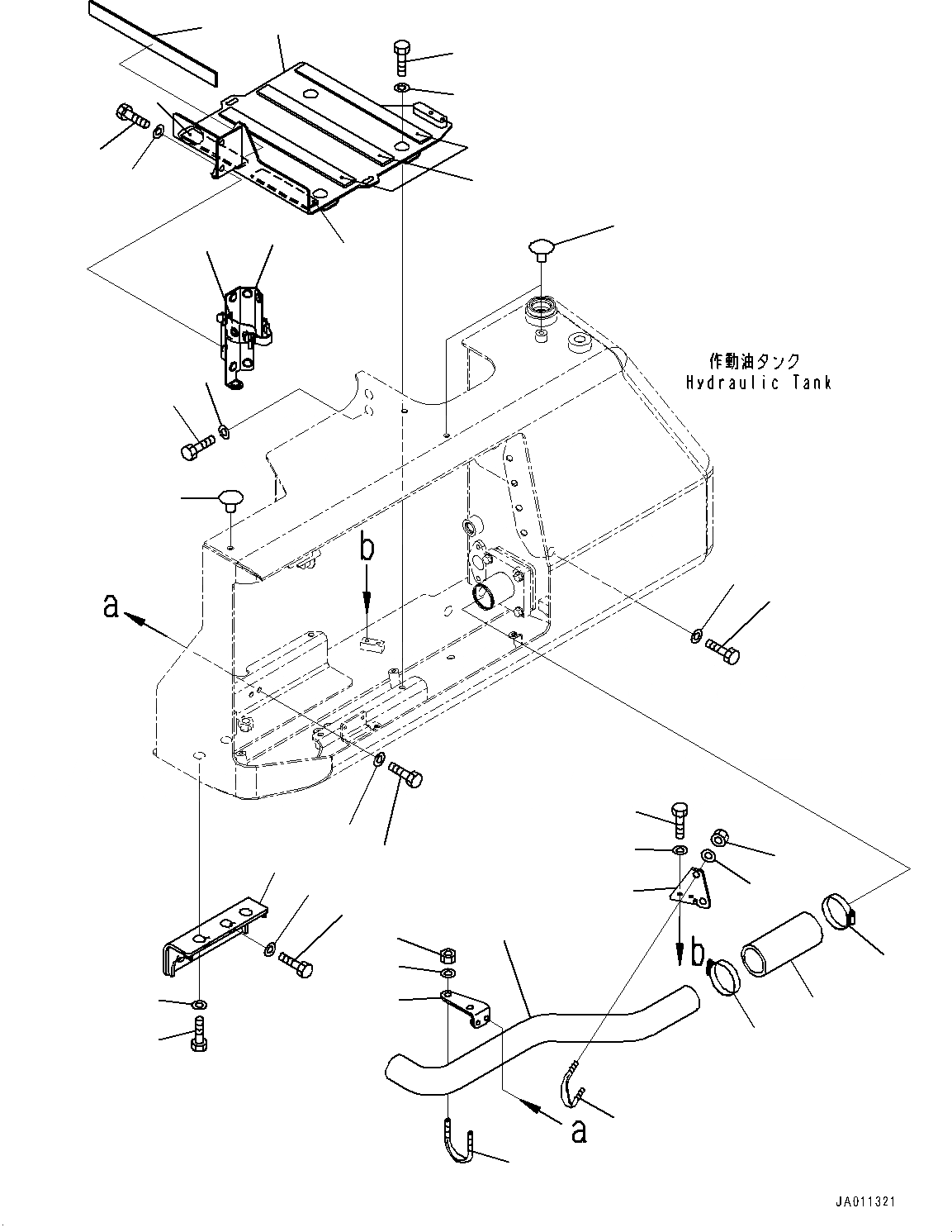
Запчасти Komatsu D37EX-23 ГИДР. БАК., ДРЕНАЖН. ТРУБЫ (№8-) ГИДР. БАК.

Схема запчастей Komatsu D37EX-23 - ГИДР. БАК., ДРЕНАЖН. ТРУБЫ (№8-) ГИДР. БАК.
1
4
5
6
7
8
9
10
13
14
15
16
17
18
19
21
22
23
24
25
26
27
28
29
30
31
34
11
12
20
32
33
34
15
2
2
3
3
FIT
1:1
100%

Артикул

Название

Примечание

Количество

1

11Y-54-43732

Bracket

SN: 80001-UP

1шт.

2

11Y-54-43A20

Cushion

SN: 80001-UP

4шт.

3

11Y-54-43A80

Cushion

SN: 80001-UP

2шт.

4

01010-81025

Bolt

SN: 80001-UP

4шт.

5

01643-31032

Washer

SN: 80001-UP

4шт.

6

11Y-60-41141

Bracket

SN: 80001-UP

1шт.

7

01643-32060

Washer

SN: 80001-UP

3шт.

8

01010-82045

Bolt

SN: 80001-UP

3шт.

9

01643-32060

Washer

SN: 80001-UP

3шт.

10

01010-82045

Bolt

SN: 80001-UP

3шт.

11

01643-32060

Washer

SN: 80001-UP

4шт.

12

01010-82045

Bolt

SN: 80001-UP

4шт.

13

01643-32060

Washer

SN: 80001-UP

2шт.

14

01010-82050

Bolt

SN: 80001-UP

2шт.

15

416-54-21710

Plug

SN: 80001-UP

3шт.

16

11Y-54-43441

Holder

SN: 80001-UP

1шт.

17

09455-12013

Hinge,Welded

SN: 80001-UP

1шт.

18

01010-81225

Bolt

SN: 80001-UP

2шт.

19

01643-31232

Washer

SN: 80001-UP

2шт.

20

11Y-62-48110

Hose

SN: 80001-UP

1шт.

21

11Y-62-41711

Tube

SN: 80001-UP

1шт.

22

07283-36155

Clip

SN: 80001-UP

1шт.

23

11Y-62-41720

Plate

SN: 80001-UP

1шт.

24

01643-31032

Washer

SN: 80001-UP

2шт.

25

01597-01009

Nut

SN: 80001-UP

2шт.

26

01010-81025

Bolt

SN: 80001-UP

2шт.

27

01643-31032

Washer

SN: 80001-UP

2шт.

28

11Y-62-41730

Bracket

SN: 80001-UP

1шт.

29

07283-36155

Clip

SN: 80001-UP

1шт.

30

01643-31032

Washer

SN: 80001-UP

2шт.

31

01597-01009

Nut

SN: 80001-UP

2шт.

32

01010-81025

Bolt

SN: 80001-UP

2шт.

33

01643-31032

Washer

SN: 80001-UP

2шт.

34

07289-00080

Clamp

SN: 80001-UP

2шт.

Выбрано товаров: 34