Запчасти Komatsu D37P-5A ГУСЕНИЦЫ (СМАЗЫВ. ТИПА) (БОЛОТН.) ХОДОВАЯ

Схема запчастей Komatsu D37P-5A - ГУСЕНИЦЫ (СМАЗЫВ. ТИПА) (БОЛОТН.) ХОДОВАЯ
FIT
1:1
100%

Артикул

Название

Примечание

Количество

|$$1

600MM WIDE

-1шт.

|1

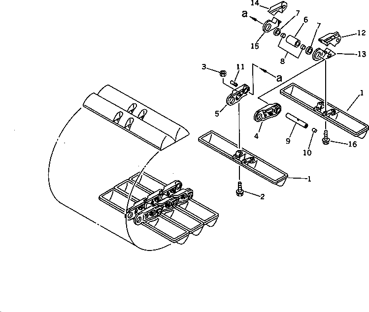
11G-32-02106

TRACK SHOE ASS'Y

SN: 3001-UP

1шт.

1

11G-32-21120

SHOE,TRACK

SN: 3001-UP

82шт.

2

11G-32-21212

BOLT¤ SHOE (KIT)

SN: 3001-UP

320шт.

3

112-32-11221

NUT¤ SHOE (KIT)

SN: 3001-UP

320шт.

|4

11G-32-00024

TRACK LINK ASS'Y

SN: 3001-UP

1шт.

4

112-32-21120

LINK,TRACK¤ L.H.

SN: 3001-UP

80шт.

5

112-32-21130

LINK,TRACK¤ R.H.

SN: 3001-UP

80шт.

6

112-32-21140

BUSHING

SN: 3001-UP

82шт.

7

112-32-21400

SEAL ASS'Y

SN: 3001-UP

164шт.

8

112-32-21430

SPACER

SN: 3001-UP

164шт.

9

112-32-21152

PIN

SN: 3001-UP

82шт.

10

07059-11222

PLUG,LARGE

SN: 3001-UP

82шт.

11

07059-20721

PLUG,SMALL

SN: 3001-UP

82шт.

12

112-32-21221

LINK,MASTER¤ L.H.¤ PIN SIDE

SN: 3001-UP

2шт.

13

112-32-21231

LINK,MASTER¤ L.H.¤ BUSHING SIDE

SN: 3001-UP

2шт.

14

112-32-21321

LINK,MASTER¤ R.H.¤ PIN SIDE

SN: 3001-UP

2шт.

15

112-32-21331

LINK,MASTER¤ R.H.¤ BUSHING SIDE

SN: 3001-UP

2шт.

16

112-32-21362

BOLT,MASTER

SN: 3001-UP

8шт.

|$$20

SERVICE KIT

-1шт.

|1

11G-32-05001

SHOE BOLT AND NUT K.

SN: 3001-UP

1шт.

2

11G-32-21212

BOLT¤ SHOE

SN: 3001-UP

50шт.

3

112-32-11221

NUT¤ SHOE

SN: 3001-UP

50шт.

|$$24

OVERSIZE PARTS

-1шт.

|$$25

SELECT AS REQUIRED NOT NECESSARY TO USE ALL OF THE OVERSIZE PARTS.

-1шт.

|$$26

0.10MM OVERSIZE

-1шт.

6

112-98-09210

BUSHING

SN: 3001-UP

-2шт.

9

112-98-09071

PIN

SN: 3001-UP

-2шт.

|$$29

0.18MM OVERSIZE

-1шт.

6

112-98-09220

BUSHING

SN: 3001-UP

-2шт.

9

112-98-09081

PIN

SN: 3001-UP

-2шт.

Выбрано товаров: 0