Запчасти Komatsu D37P-5A РЫЧАГ УПРАВЛ-Я ПОДАЧЕЙ ТОПЛИВА (С ПЕДАЛЬ ЗАМЕДЛИТЕЛЯ ОБОРОТОВ) ТОПЛИВН. БАК. AND КОМПОНЕНТЫ

Схема запчастей Komatsu D37P-5A - РЫЧАГ УПРАВЛ-Я ПОДАЧЕЙ ТОПЛИВА (С ПЕДАЛЬ ЗАМЕДЛИТЕЛЯ ОБОРОТОВ) ТОПЛИВН. БАК. AND КОМПОНЕНТЫ
FIT
1:1
100%

Артикул

Название

Примечание

Количество

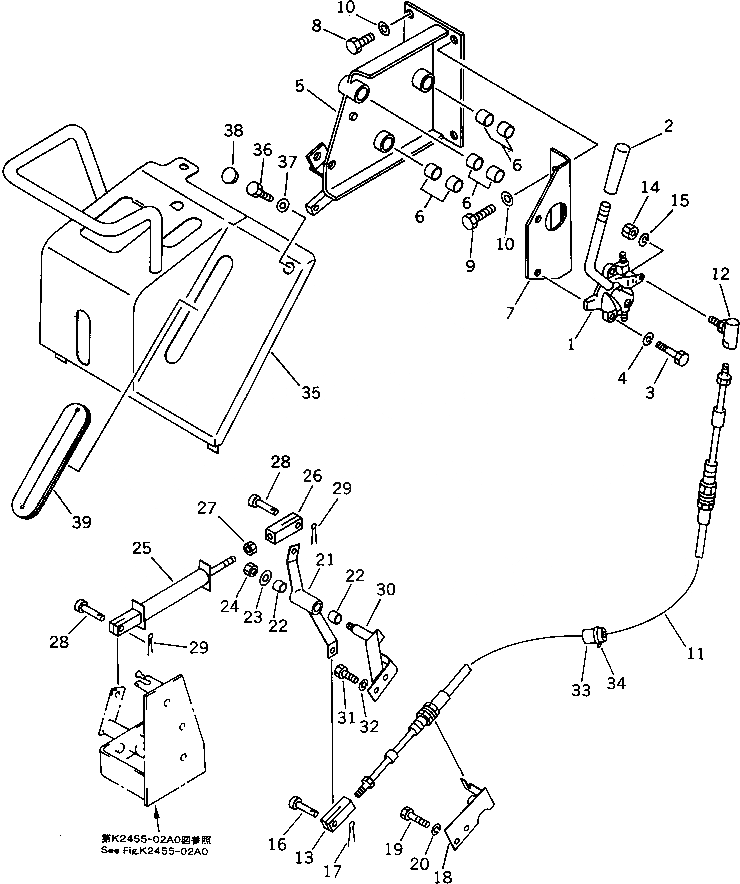
1

114-43-48220

LEVER ASS'Y

SN: 3001-3660

1шт.

2

203-43-44360

KNOB

SN: 3001-3660

1шт.

3

07372-21030

BOLT

SN: 3001-3660

2шт.

4

01602-21030

WASHER,SPRING

SN: 3001-3660

2шт.

5

114-43-48612

BRACKET

SN: 3001-3660

1шт.

6

363-43-27250

BEARING

SN: 3001-3660

6шт.

7

114-43-48770

BRACKET

SN: 3001-3660

1шт.

8

01010-51020

BOLT

SN: 3001-3660

2шт.

9

01010-51025

BOLT

SN: 3001-3660

2шт.

10

01643-31032

WASHER

SN: 3001-3660

4шт.

11

114-43-48210

CABLE

SN: 3001-UP

1шт.

12

103-43-25160

END,ROD

SN: 3001-UP

1шт.

13

113-43-44140

YOKE

SN: 3001-UP

1шт.

14

01580-10504

NUT

SN: 3001-UP

1шт.

15

01601-20513

WASHER,SPRING

SN: 3001-UP

1шт.

16

04205-10620

PIN

SN: 3001-UP

1шт.

17

04050-11612

PIN,COTTER

SN: 3001-UP

1шт.

18

113-43-46120

BRACKET

SN: 3001-UP

1шт.

19

01010-81020

BOLT

SN: 3001-UP

2шт.

20

01602-21030

WASHER,SPRING

SN: 3001-UP

2шт.

21

113-43-46140

LEVER

SN: 3001-UP

1шт.

22

09350-01420

BUSHING

SN: 3001-UP

2шт.

23

113-43-23230

WASHER

SN: 3001-UP

1шт.

24

01598-00809

NUT

SN: 3001-UP

1шт.

25

114-43-51130

SPRING,LOOSE

SN: 3661-UP

1шт.

|25

113-43-46130

SPRING,LOOSE

SN: 3001-3660

1шт.

26

04211-20844

YOKE

SN: 3001-UP

1шт.

27

01580-10806

NUT

SN: 3001-UP

1шт.

28

04205-10822

PIN

SN: 3001-UP

2шт.

29

04050-12015

PIN,COTTER

SN: 3001-UP

2шт.

30

113-43-46170

BRACKET

SN: 3001-UP

1шт.

31

01010-81020

BOLT

SN: 3001-UP

2шт.

32

01602-21030

WASHER,SPRING

SN: 3001-UP

2шт.

33

201-43-22190

BUSHING

SN: 3001-UP

1шт.

34

08034-00310

BAND

SN: 3001-UP

1шт.

35

114-43-48423

COVER

SN: 3001-3660

1шт.

36

01252-30825

BOLT

SN: 3001-3660

2шт.

37

01643-30823

WASHER

SN: 3001-3660

2шт.

38

114-54-43260

PLUG

SN: 3001-3660

1шт.

39

114-43-48241

GROMMET

SN: 3001-3660

1шт.

Выбрано товаров: 40