Запчасти Komatsu D37P-5A АККУМУЛЯТОР (КРОМЕ ЯПОН.) ЭЛЕКТРИКА

Схема запчастей Komatsu D37P-5A - АККУМУЛЯТОР (КРОМЕ ЯПОН.) ЭЛЕКТРИКА
FIT
1:1
100%

Артикул

Название

Примечание

Количество

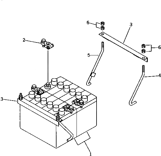
1

08000-02208

BATTERY (75D31R),(WET TYPE)

SN: 3001-UP

2шт.

|1

08000-12208

BATTERY (75D31R),(DRY TYPE)

SN: 3001-UP

2шт.

|1

08000-10050

ELECTROLYTE,5L

SN: 3001-UP

2шт.

2

08000-00000

TERMINAL¤ (+)

SN: 3001-UP

2шт.

|2

08000-00001

TERMINAL¤ (-)

SN: 3001-UP

2шт.

3

113-06-41110

HOLDER

SN: 3001-UP

2шт.

4

113-06-41120

BOLT

SN: 3001-UP

2шт.

5

113-06-41130

BOLT

SN: 3001-UP

2шт.

6

01580-11008

NUT

SN: 3001-UP

8шт.

Выбрано товаров: 9