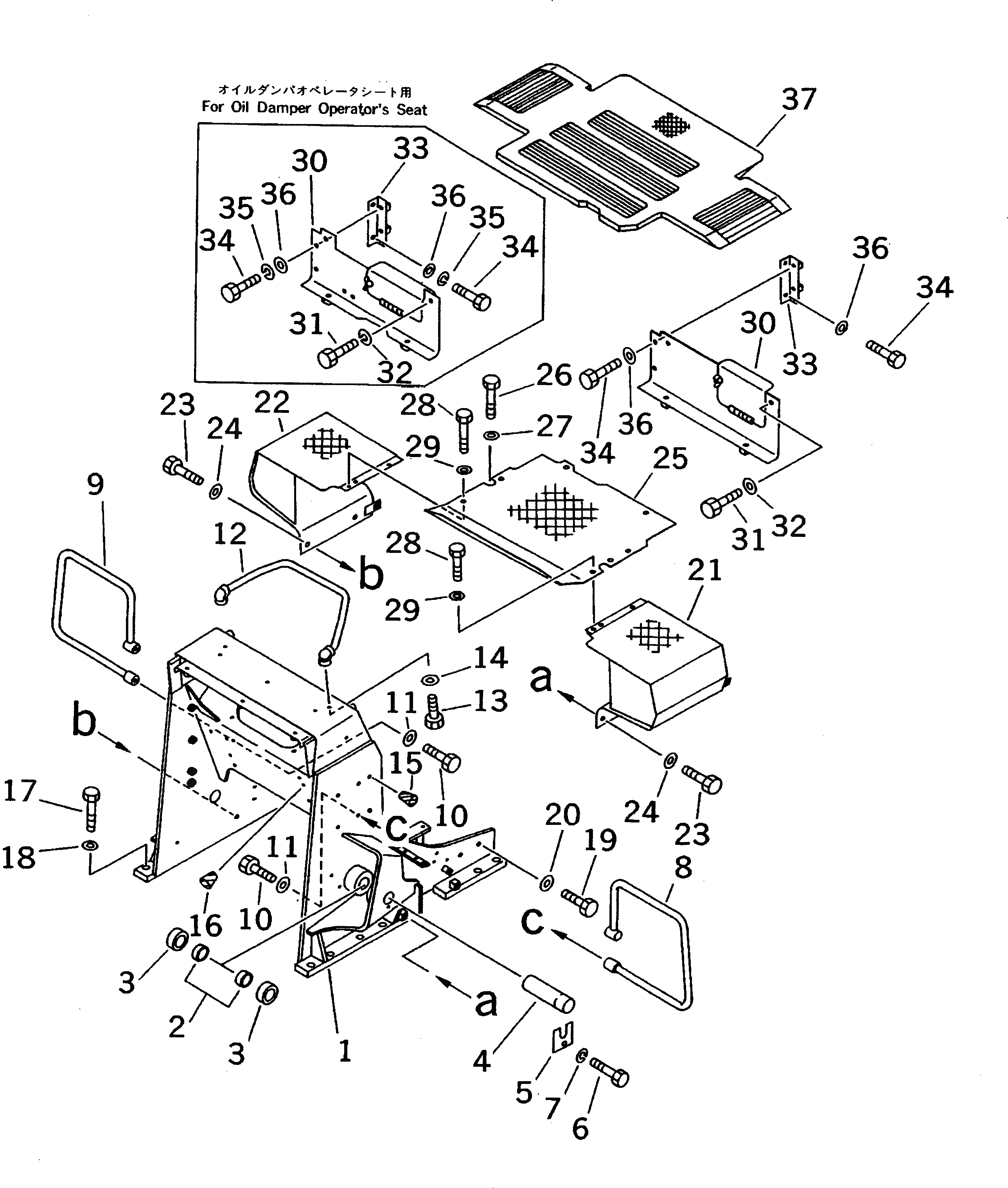
Запчасти Komatsu D37P-5A ПОГРУЗ. РАМА И ПОЛ КАБИНЫ КАБИНА ОПЕРАТОРА И СИСТЕМА УПРАВЛЕНИЯ

Схема запчастей Komatsu D37P-5A - ПОГРУЗ. РАМА И ПОЛ КАБИНЫ КАБИНА ОПЕРАТОРА И СИСТЕМА УПРАВЛЕНИЯ
FIT
1:1
100%

Артикул

Название

Примечание

Количество

1

114-54-51410

FRAME,LOADER

SN: 3661-UP

1шт.

1

114-54-42340

FRAME,LOADER

SN: 3001-3660

1шт.

2

114-72-21940

COLLAR

SN: 3001-UP

4шт.

3

114-72-21960

BUSHING

SN: 3001-UP

4шт.

4

114-72-43320

PIN

SN: 3001-UP

2шт.

5

114-72-21860

LOCK

SN: 3001-UP

2шт.

6

01010-81025

BOLT

SN: 3001-UP

2шт.

7

01602-21030

WASHER,SPRING

SN: 3001-UP

2шт.

8

114-54-42171

HANDLE,L.H.

SN: 3661-UP

1шт.

8

114-54-42170

HANDLE,L.H.

SN: 3001-3660

1шт.

9

114-54-42171

HANDLE,R.H.

SN: 3661-UP

1шт.

9

114-54-42170

HANDLE,R.H.

SN: 3001-3660

1шт.

10

01010-81245

BOLT

SN: 3001-UP

4шт.

11

01643-31232

WASHER

SN: 3001-UP

4шт.

12

104-54-31311

HANDLE

SN: 3661-UP

1шт.

12

114-54-42230

HANDLE

SN: 3001-3660

1шт.

13

01010-81020

BOLT

SN: 3001-UP

2шт.

14

01643-31032

WASHER

SN: 3001-UP

2шт.

15

07049-02430

PLUG

SN: 3001-UP

8шт.

16

07049-01012

PLUG

SN: 3001-UP

3шт.

17

01010-82060

BOLT

SN: 3001-UP

12шт.

18

01643-32060

WASHER

SN: 3001-UP

12шт.

19

01010-81640

BOLT

SN: 3001-UP

4шт.

20

01643-31645

WASHER

SN: 3001-UP

4шт.

21

114-54-44140

FENDER,L.H.

SN: 3001-UP

1шт.

22

114-54-44150

FENDER,R.H.

SN: 3001-UP

1шт.

23

01010-81025

BOLT

SN: 3001-UP

4шт.

24

01643-31032

WASHER

SN: 3001-UP

4шт.

25

113-54-43110

PLATE

SN: 3001-UP

1шт.

26

01010-81030

BOLT

SN: 3001-UP

2шт.

27

01643-31032

WASHER

SN: 3001-UP

2шт.

28

01010-81020

BOLT

SN: 3001-UP

6шт.

29

01643-31032

WASHER

SN: 3001-UP

6шт.

30

113-54-44110

COVER

SN: 3001-UP

1шт.

30

113-54-44510

COVER,(FOR OIL DAMPER SEAT)

SN: 3001-UP

1шт.

31

01010-81020

BOLT

SN: 3001-UP

2шт.

31

01010-81025

BOLT,(FOR OIL DAMPER SEAT)

SN: 3001-UP

2шт.

32

01643-31032

WASHER

SN: 3001-UP

2шт.

32

01602-21030

WASHER,(FOR OIL DAMPER SEAT)

SN: 3001-UP

2шт.

33

114-54-43250

BRACKET

SN: 3001-UP

1шт.

34

01010-81025

BOLT

SN: 3001-UP

4шт.

35

01602-21030

WASHER,(FOR OIL DAMPER SEAT)

SN: 3001-UP

4шт.

36

01643-31032

WASHER

SN: 3001-UP

4шт.

37

114-54-43112

MAT

SN: 3001-UP

1шт.

Выбрано товаров: 44