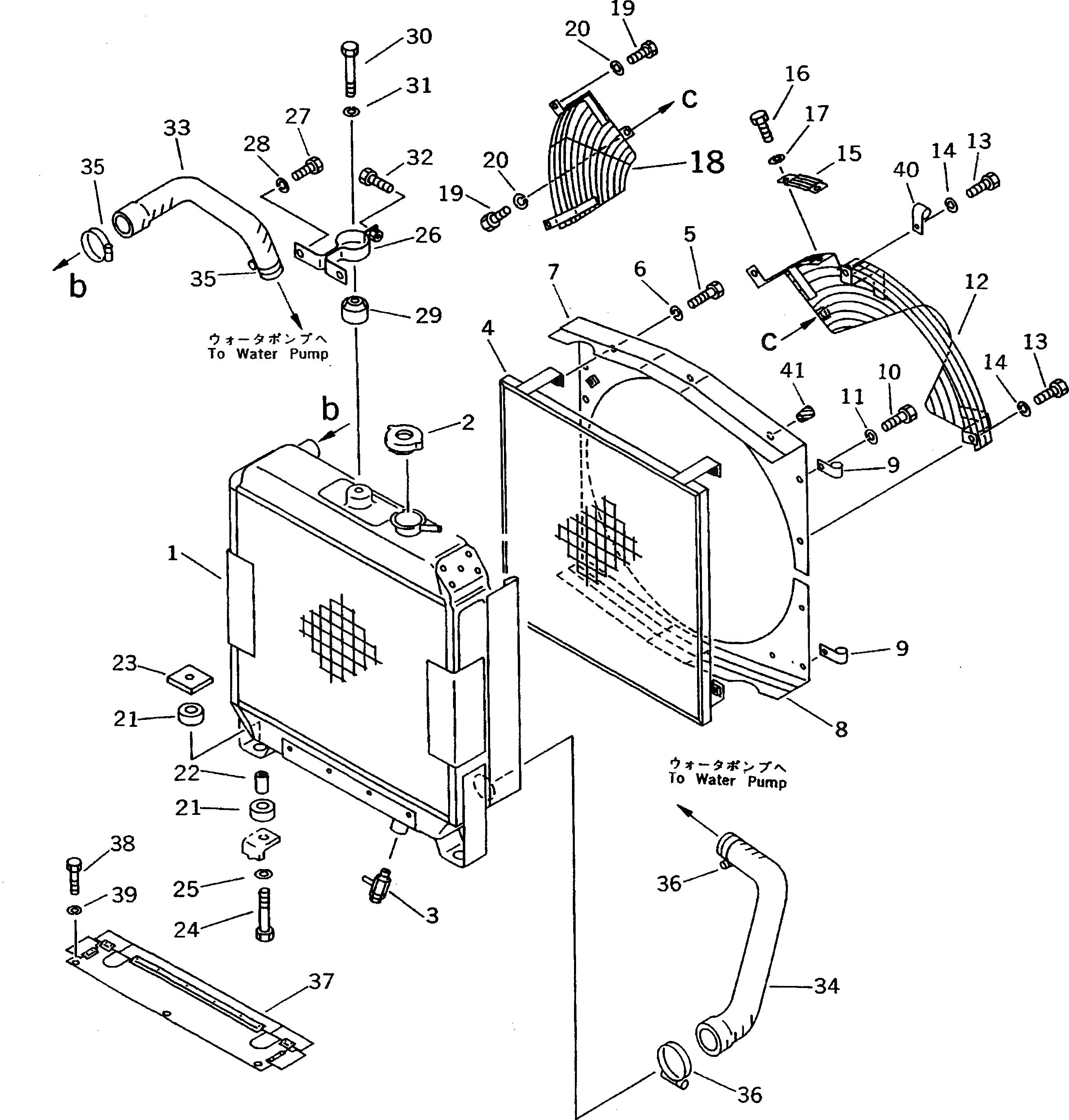
Запчасти Komatsu D37P-5A РАДИАТОР И ТРУБЫ (С ПЕСЧАН. ЗАПЫЛЕНН ЗАЩИТА)(REGULATION OF EC INCLUSION)(№-) СИСТЕМА ОХЛАЖДЕНИЯ

Схема запчастей Komatsu D37P-5A - РАДИАТОР И ТРУБЫ (С ПЕСЧАН. ЗАПЫЛЕНН ЗАЩИТА) (REGULATION OF EC INCLUSION)(№-) СИСТЕМА ОХЛАЖДЕНИЯ
FIT
1:1
100%

Артикул

Название

Примечание

Количество

1

113-03-41710

CORE ASS'Y,RADIATOR

SN: 3356-3660

1шт.

2

114-03-48160

CAP

SN: 3356-3660

1шт.

3

07730-10003

VALVE

SN: 3356-3660

1шт.

4

114-03-41610

GRID,CORE

SN: 3356-3360

1шт.

5

01010-51025

BOLT

SN: 3356-3660

4шт.

6

01602-21030

WASHER,SPRING

SN: 3356-3660

4шт.

7

114-03-48450

SHROUD,UPPER

SN: 3356-3660

1шт.

8

114-03-48460

SHROUD,LOWER

SN: 3356-3660

1шт.

9

281-03-12620

CLAMP

SN: 3356-3660

2шт.

10

01010-51025

BOLT

SN: 3356-3660

4шт.

11

01602-21030

WASHER,SPRING

SN: 3356-3660

4шт.

12

114-03-48350

NET,WIRE

SN: 3356-3660

1шт.

13

01010-51025

BOLT

SN: 3356-3660

3шт.

14

01602-21030

WASHER,SPRING

SN: 3356-3660

3шт.

15

114-03-48330

NET,WIRE

SN: 3356-3660

1шт.

16

01010-51020

BOLT

SN: 3356-3660

2шт.

17

01602-21030

WASHER,SPRING

SN: 3356-3660

2шт.

18

114-03-48321

NET,WIRE

SN: 3356-3660

1шт.

19

01010-51025

BOLT

SN: 3356-3660

3шт.

20

01602-21030

WASHER,SPRING

SN: 3356-3660

3шт.

21

113-03-21160

SEAT

SN: 3356-3660

4шт.

22

113-03-21170

SPACER

SN: 3356-3660

2шт.

23

113-03-21180

PLATE

SN: 3356-3660

2шт.

24

01010-51060

BOLT

SN: 3356-3660

2шт.

25

01602-21030

WASHER,SPRING

SN: 3356-3660

2шт.

26

113-03-41191

BRACKET

SN: 3356-3660

1шт.

27

01010-51025

BOLT

SN: 3356-3660

2шт.

28

01602-21030

WASHER,SPRING

SN: 3356-3660

2шт.

29

135-03-12110

DAMPER

SN: 3356-3660

1шт.

30

01010-51460

BOLT

SN: 3356-3660

1шт.

31

01602-21442

WASHER,SPRING

SN: 3356-3660

1шт.

32

01010-51030

BOLT

SN: 3356-3660

1шт.

33

114-03-41140

HOSE,INLET

SN: 3356-3660

1шт.

34

113-03-41150

HOSE,OUTLET

SN: 3356-3660

1шт.

35

207-09-11110

CLAMP

SN: 3356-3660

2шт.

36

208-09-11110

CLAMP

SN: 3356-3660

2шт.

37

114-03-41171

BAFFLE

SN: 3356-3660

1шт.

38

01010-51025

BOLT

SN: 3356-3660

3шт.

39

01602-21030

WASHER,SPRING

SN: 3356-3660

3шт.

40

08036-91214

CLIP

SN: 3356-3660

1шт.

41

07049-01012

PLUG

SN: 3356-3660

1шт.

Выбрано товаров: 0