Качественные детали и логистика
Оригинальные и аналоговые запчасти с доставкой по России, Казахстану и Беларуси
©2022 PartSell ООО "Система" ИНН 2463123282 ОГРН 1212400004838
Центральный офис: г. Красноярск, Академика Киренского, д.87, пом.4
Телефон: 8 (800) 777-65-74 Email: zakaz@partsell.ru
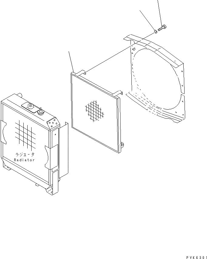
ПЕСЧАН. ЗАПЫЛЕНН ЗАЩИТА РЕШЕТКА(№-)
№
Артикул
Название
Примечание
Количество
1
114-03-51340
GRID,CORE
SN: 3661-UP
1шт.
2
01010-81025
BOLT
4шт.
3
01602-21030
WASHER,SPRING
Выбрано товаров: 0