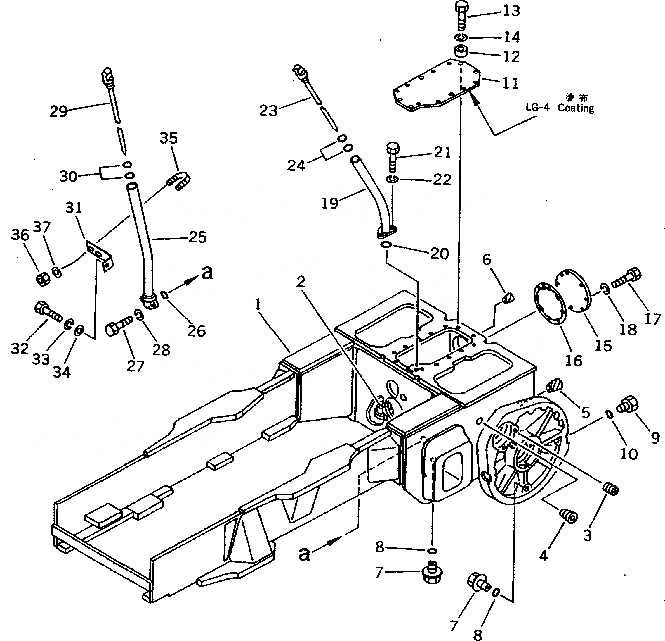
Запчасти Komatsu D37P-5A КОРПУС БЛОКА УПРАВЛЕНИЯ ПОВОРОТОМ И ОСНОВНАЯ РАМА ОСНОВН. РАМА И КОМПОНЕНТЫ

Схема запчастей Komatsu D37P-5A - КОРПУС БЛОКА УПРАВЛЕНИЯ ПОВОРОТОМ И ОСНОВНАЯ РАМА ОСНОВН. РАМА И КОМПОНЕНТЫ
FIT
1:1
100%

Артикул

Название

Примечание

Количество

1

11G-21-51303

FRAME

SN: 3937-UP

1шт.

|1

0

FRAME

SN: 3912-3936

1шт.

|1

11G-21-51301

FRAME

SN: 3736-3911

1шт.

|1

11G-21-51300

FRAME

SN: 3661-3735

1шт.

|1

11G-21-41302

FRAME

SN: 3001-3660

1шт.

2

113-21-41180

BOSS (WELDED)

SN: 3001-UP

2шт.

3

131-21-41520

PLUG

SN: 3001-UP

4шт.

4

07043-01019

PLUG

SN: 3001-UP

2шт.

5

07049-02025

PLUG

SN: 3001-UP

18шт.

6

07049-01012

PLUG

SN: 3001-UP

7шт.

7

07044-12412

PLUG

SN: 3001-UP

5шт.

8

07002-02434

O-RING

SN: 3001-UP

5шт.

9

07040-13016

PLUG

SN: 3001-UP

2шт.

10

07002-03034

O-RING

SN: 3001-UP

2шт.

11

113-21-41211

COVER

SN: 3736-UP

1шт.

|11

113-21-41210

COVER

SN: 3001-3735

1шт.

12

198-43-15310

COLLAR¤ 10MM

SN: 3736-UP

6шт.

|12

581-95-19870

BOSS

SN: 3001-3735

6шт.

13

01010-81245

BOLT

SN: 3736-UP

6шт.

|13

01010-81040

BOLT

SN: 3001-3735

6шт.

14

01602-21236

WASHER,SPRING

SN: 3736-UP

6шт.

|14

01602-21030

WASHER,SPRING

SN: 3001-3735

6шт.

15

113-21-41230

COVER

SN: 3001-UP

1шт.

16

113-21-21242

GASKET

SN: 3153-UP

1шт.

|16

0

GASKET

SN: 3001-3152

1шт.

17

01010-81025

BOLT

SN: 3001-UP

8шт.

18

01602-21030

WASHER,SPRING

SN: 3001-UP

8шт.

19

113-21-41251

FILLER

SN: 3932-UP

1шт.

|19

113-21-41250

FILLER

SN: 3001-3931

1шт.

20

07000-03035

O-RING

SN: 3001-UP

1шт.

21

01010-81035

BOLT

SN: 3932-UP

2шт.

|21

01010-81030

BOLT

SN: 3001-3931

2шт.

22

01602-21030

WASHER,SPRING

SN: 3001-UP

2шт.

23

113-21-41260

GAUGE

SN: 3001-UP

1шт.

24

07000-03022

O-RING

SN: 3001-UP

2шт.

25

113-21-31270

FILLER

SN: 3001-UP

1шт.

26

07000-03035

O-RING

SN: 3001-UP

1шт.

27

01010-81030

BOLT

SN: 3001-UP

2шт.

28

01602-21030

WASHER,SPRING

SN: 3001-UP

2шт.

29

113-21-31260

GAUGE

SN: 3001-UP

1шт.

30

07000-03022

O-RING

SN: 3001-UP

2шт.

31

113-21-41280

PLATE

SN: 3001-UP

1шт.

32

01010-81025

BOLT

SN: 3001-UP

1шт.

33

01602-21030

WASHER,SPRING

SN: 3001-UP

1шт.

34

01643-31032

WASHER

SN: 3001-UP

1шт.

35

07283-23442

CLIP

SN: 3001-UP

1шт.

36

01599-01011

NUT

SN: 3001-UP

2шт.

37

01643-31032

WASHER

SN: 3001-UP

2шт.

Выбрано товаров: 48