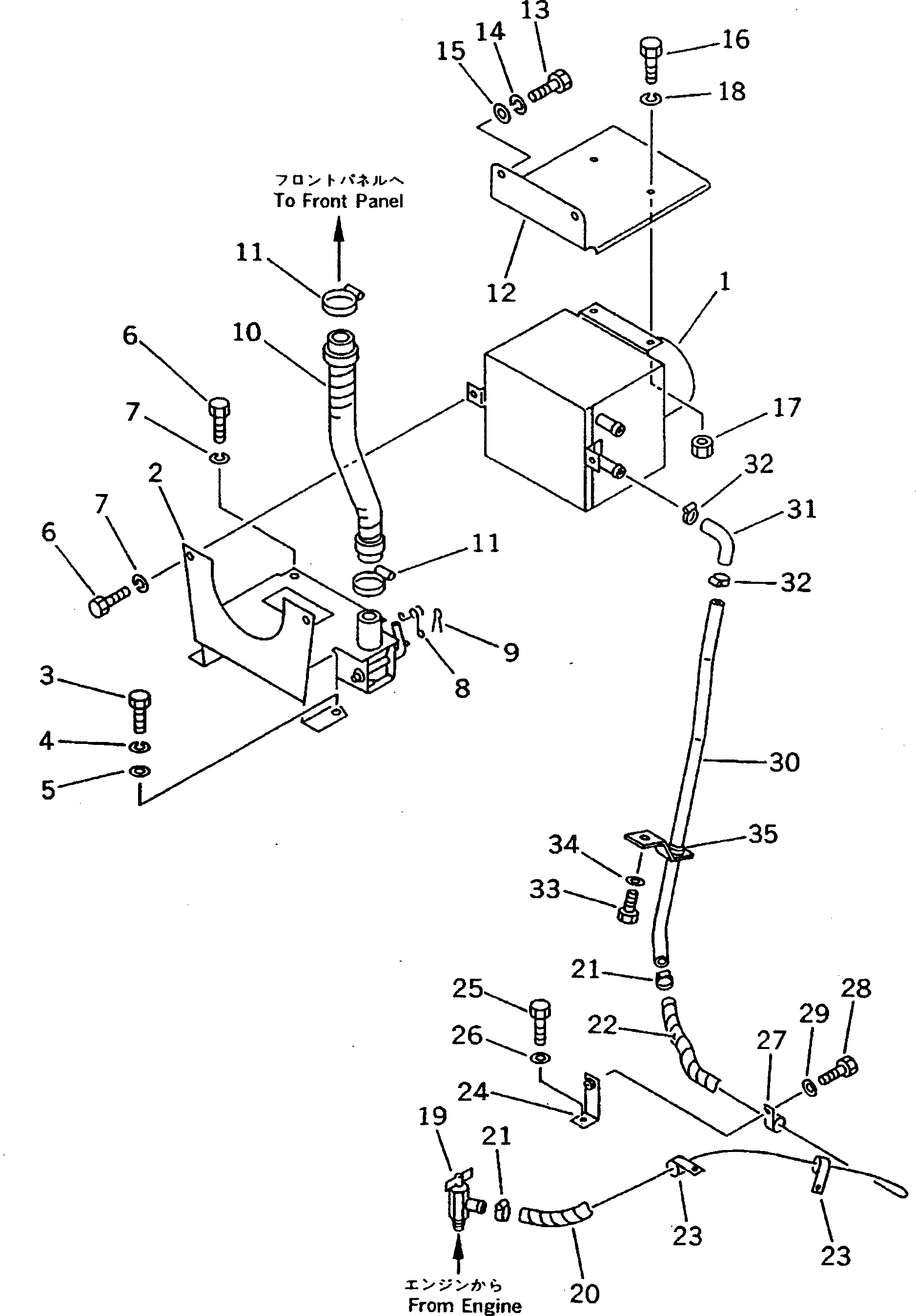
Запчасти Komatsu D37P-5A ОБОГРЕВАТЕЛЬ. (/) КАБИНА ОПЕРАТОРА И СИСТЕМА УПРАВЛЕНИЯ

Схема запчастей Komatsu D37P-5A - ОБОГРЕВАТЕЛЬ. (/) КАБИНА ОПЕРАТОРА И СИСТЕМА УПРАВЛЕНИЯ
FIT
1:1
100%

Артикул

Название

Примечание

Количество

1

113-X79-3150

CAR HEATER ASS'Y

SN: 3001-UP

1шт.

2

113-Z11-3120

BRACKET

SN: 3001-UP

1шт.

3

01010-81025

BOLT

SN: 3001-UP

3шт.

4

01602-21030

WASHER,SPRING

SN: 3001-UP

3шт.

5

01643-31032

WASHER

SN: 3001-UP

3шт.

6

01010-80616

BOLT

SN: 3001-UP

4шт.

7

01602-20619

WASHER,SPRING

SN: 3001-UP

4шт.

8

144-999-9810

SPRING

SN: 3001-UP

1шт.

9

04050-11610

PIN,COTTER

SN: 3001-UP

2шт.

10

09485-03704

HOSE

SN: 3001-UP

1шт.

11

07281-00419

CLAMP

SN: 3001-UP

2шт.

12

113-Y79-3110

STEP

SN: 3001-UP

1шт.

13

01010-81020

BOLT

SN: 3001-UP

2шт.

14

01602-21030

WASHER,SPRING

SN: 3001-UP

2шт.

15

01643-31032

WASHER

SN: 3001-UP

2шт.

16

01010-80616

BOLT

SN: 3001-UP

2шт.

17

01580-10605

NUT

SN: 3001-UP

2шт.

18

01602-20619

WASHER,SPRING

SN: 3001-UP

2шт.

19

09482-50000

VALVE

SN: 3001-UP

1шт.

20

09483-00415

HOSE

SN: 3661-UP

1шт.

|20

09483-00414

HOSE

SN: 3001-3660

1шт.

21

09480-10100

CLAMP

SN: 3001-UP

2шт.

22

203-62-32440

COVER

SN: 3153-UP

3шт.

|22

0

TAPE

SN: 3001-3152

1шт.

23

144-874-6960

CLIP

SN: 3001-UP

2шт.

24

144-06-14670

PLATE

SN: 3001-UP

1шт.

25

01010-81020

BOLT

SN: 3001-UP

1шт.

26

01602-21030

WASHER,SPRING

SN: 3001-UP

1шт.

27

08036-02514

CLIP

SN: 3001-UP

1шт.

28

01010-81220

BOLT

SN: 3001-UP

1шт.

29

01602-21236

WASHER,SPRING

SN: 3001-UP

1шт.

30

113-X79-3131

TUBE

SN: 3661-UP

1шт.

|30

113-X79-3130

TUBE

SN: 3001-3660

1шт.

31

09483-20450

HOSE

SN: 3001-UP

1шт.

32

09480-10100

CLAMP

SN: 3001-UP

2шт.

33

01010-81025

BOLT

SN: 3001-UP

1шт.

34

01643-31032

WASHER

SN: 3001-UP

1шт.

35

08037-02512

GROMMET

SN: 3001-UP

2шт.

Выбрано товаров: 38