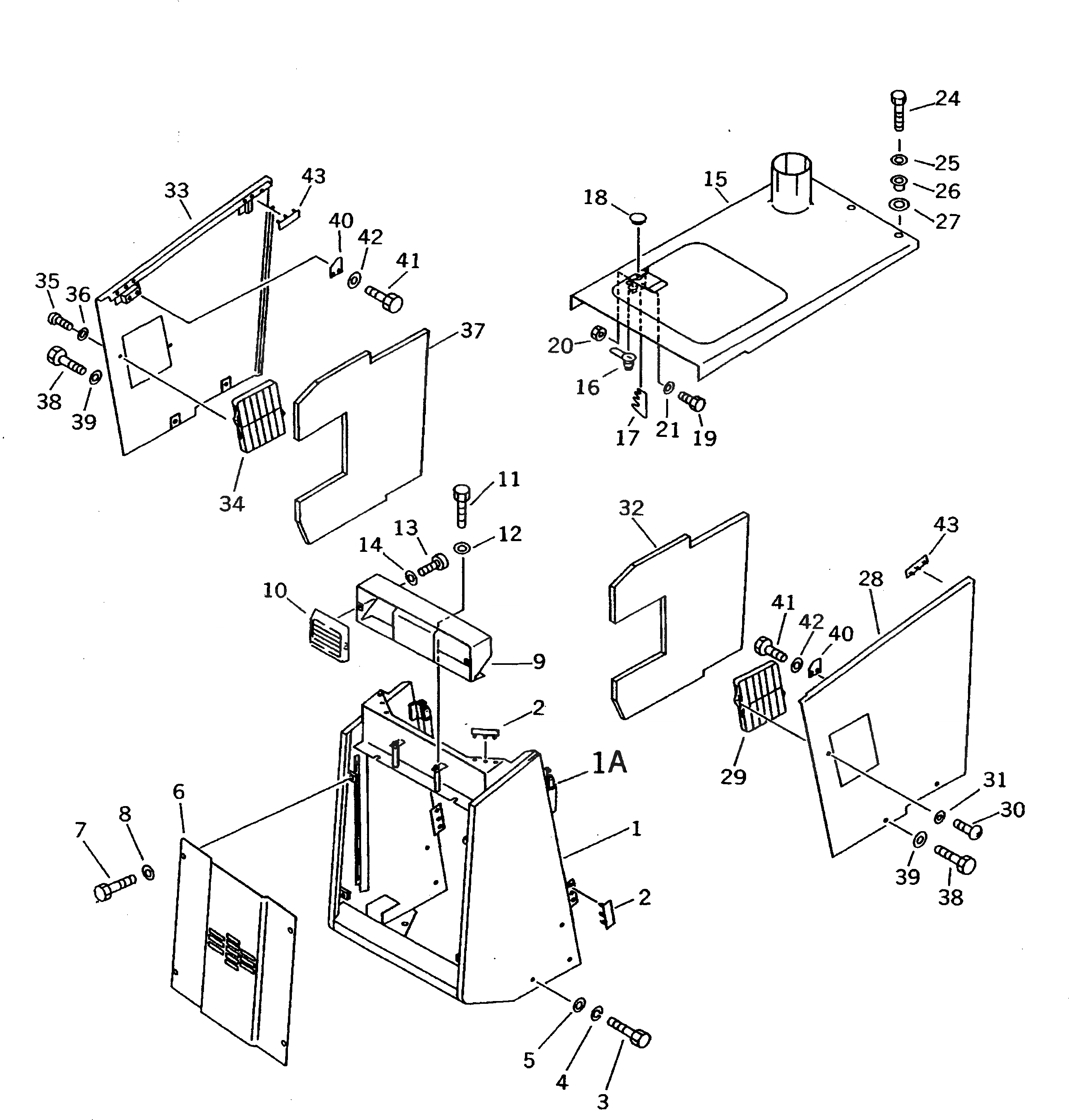
Запчасти Komatsu D37P-5A ЗАЩИТА РАДИАТОРА AND КАПОТ (ДЛЯ ЯПОН.)(№-) ЧАСТИ КОРПУСА

Схема запчастей Komatsu D37P-5A - ЗАЩИТА РАДИАТОРА AND КАПОТ (ДЛЯ ЯПОН.)(№-) ЧАСТИ КОРПУСА
FIT
1:1
100%

Артикул

Название

Примечание

Количество

1

114-54-41262

GUARD,RADIATOR

SN: 3001-3660

1шт.

1A

120-54-31220

CATCHER ASS'Y,ENGINE HOOD (WELDED)

SN: 3001-@

2шт.

2

114-54-41250

SHEET

SN: 3001-@

4шт.

3

01010-51435

BOLT

SN: 3001-@

8шт.

4

01602-21442

WASHER,SPRING

SN: 3001-@

8шт.

5

01643-31445

WASHER

SN: 3001-@

8шт.

6

114-54-41152

GRILLE

SN: 3001-@

1шт.

|6

114-54-41350

GRILLE,(REINFORCED TYPE)

SN: 3001-@

1шт.

7

01010-51430

BOLT

SN: 3001-@

4шт.

8

01643-31445

WASHER

SN: 3001-@

4шт.

9

114-54-41270

COVER

SN: 3001-3660

1шт.

10

114-54-41291

COVER

SN: 3001-3660

2шт.

11

01011-51020

BOLT

SN: 3001-3660

2шт.

12

01643-31032

WASHER

SN: 3001-3660

2шт.

13

01220-40616

SCREW

SN: 3001-@

4шт.

14

01643-30623

WASHER

SN: 3001-@

4шт.

15

114-54-41322

HOOD

SN: 3001-3660

1шт.

16

205-60-71220

LOCK ASS'Y

SN: 3001-@

1шт.

17

09461-00020

LEVER ASS'Y

SN: 3001-@

1шт.

18

203-54-32260

STOPPER

SN: 3001-@

1шт.

19

01010-51025

BOLT

SN: 3001-@

2шт.

20

01580-01008

NUT

SN: 3001-@

2шт.

21

01643-31032

WASHER

SN: 3001-@

2шт.

22

114-54-41591

SHEET

SN: 3001-3660

1шт.

23

114-54-44260

SHEET

SN: 3001-3660

1шт.

24

01010-51435

BOLT

SN: 3001-@

3шт.

25

01643-31445

WASHER

SN: 3001-@

3шт.

26

113-54-41340

COLLAR

SN: 3001-@

3шт.

27

113-54-31350

SEAT

SN: 3001-@

3шт.

28

114-54-41431

COVER,L.H.

SN: 3001-3660

1шт.

29

114-54-42621

DUCT

SN: 3001-3660

1шт.

30

01220-40616

SCREW

SN: 3001-3660

2шт.

31

01643-30623

WASHER

SN: 3001-3660

2шт.

32

114-54-41581

SHEET

SN: 3001-3660

1шт.

33

114-54-41441

COVER,R.H.

SN: 3001-3660

1шт.

34

114-54-42621

DUCT

SN: 3001-3660

1шт.

35

01220-40616

SCREW

SN: 3001-3660

2шт.

36

01643-30623

WASHER

SN: 3001-3660

2шт.

37

114-54-44220

SHEET

SN: 3001-3660

1шт.

38

01010-51025

BOLT

SN: 3001-3660

4шт.

39

01643-31032

WASHER

SN: 3001-@

4шт.

40

104-54-31391

PLATE

SN: 3001-@

2шт.

41

01010-51020

BOLT

SN: 3001-@

4шт.

42

01643-31032

WASHER

SN: 3001-@

4шт.

43

114-54-41250

SHEET

SN: 3001-@

4шт.

Выбрано товаров: 45