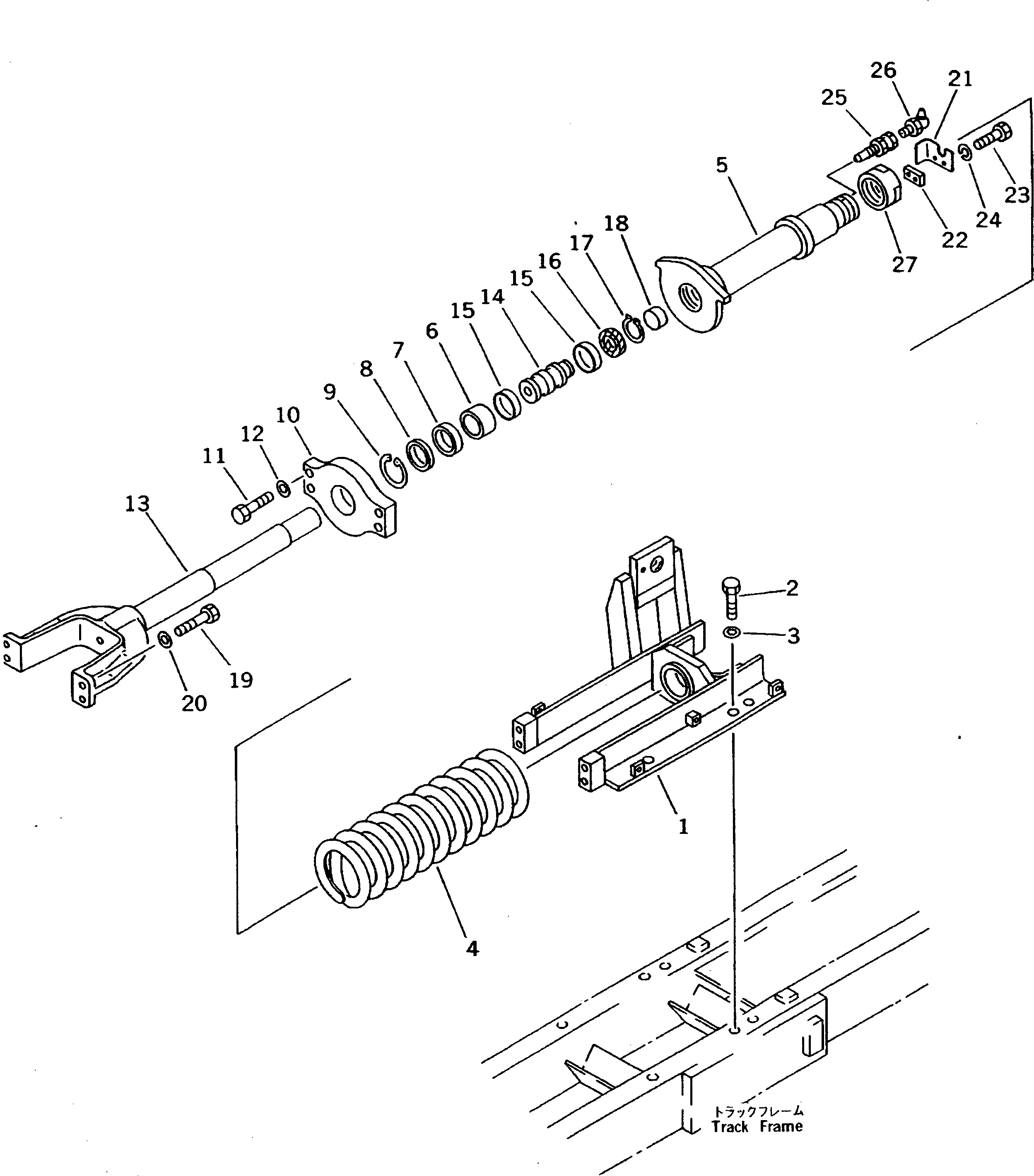
Запчасти Komatsu D37P-5A ПРУЖИНА ХОДОВАЯ

Схема запчастей Komatsu D37P-5A - ПРУЖИНА ХОДОВАЯ
FIT
1:1
100%

Артикул

Название

Примечание

Количество

1

113-30-41211

BRACKET,L.H.

SN: 3001-UP

1шт.

|1

113-30-41221

BRACKET,R.H.

SN: 3001-UP

1шт.

2

01010-51640

BOLT

SN: 3001-UP

12шт.

3

01643-31645

WASHER

SN: 3001-UP

12шт.

4

113-30-34211

SPRING

SN: 3943-UP

2шт.

|4

113-30-34210

SPRING

SN: 3001-3942

2шт.

5

113-30-34231

CYLINDER

SN: 3001-UP

2шт.

6

07177-05030

BUSHING

SN: 3001-UP

2шт.

7

113-30-24240

SEAL

SN: 3001-UP

2шт.

8

113-30-24250

SPACER

SN: 3001-UP

2шт.

9

04065-06220

RING,SNAP

SN: 3001-UP

2шт.

10

113-30-44470

PLATE

SN: 3001-UP

2шт.

11

01010-51855

BOLT

SN: 3001-UP

8шт.

12

01643-31845

WASHER

SN: 3001-UP

8шт.

13

113-30-34151

YOKE ASS'Y

SN: 3661-UP

2шт.

|13

113-30-34150

YOKE ASS'Y

SN: 3001-3660

2шт.

14

113-30-24161

PISTON

SN: 3001-UP

2шт.

15

07155-00515

RING,WEAR

SN: 3001-UP

4шт.

16

09370-00050

U-PACKING

SN: 3001-UP

2шт.

17

04064-03515

RING,SNAP

SN: 3001-UP

2шт.

18

113-30-44170

BAR

SN: 3001-UP

2шт.

19

01010-51645

BOLT

SN: 3001-UP

8шт.

20

01643-31645

WASHER

SN: 3001-UP

8шт.

21

113-30-44140

PLATE

SN: 3001-UP

2шт.

22

201-30-52280

SEAT

SN: 3001-UP

2шт.

23

01010-50830

BOLT

SN: 3001-UP

4шт.

24

01602-20825

WASHER,SPRING

SN: 3001-UP

4шт.

25

203-30-42260

VALVE

SN: 3001-UP

2шт.

26

07020-00900

FITTING,GREASE

SN: 3001-UP

2шт.

27

11G-30-34290

NUT

SN: 3001-UP

2шт.

Выбрано товаров: 30