Запчасти Komatsu D37PG-5A ПОВОРОТН. СЦЕПНОЕ УСТРОЙСТВО РАБОЧЕЕ ОБОРУДОВАНИЕ

Схема запчастей Komatsu D37PG-5A - ПОВОРОТН. СЦЕПНОЕ УСТРОЙСТВО РАБОЧЕЕ ОБОРУДОВАНИЕ
FIT
1:1
100%

Артикул

Название

Примечание

Количество

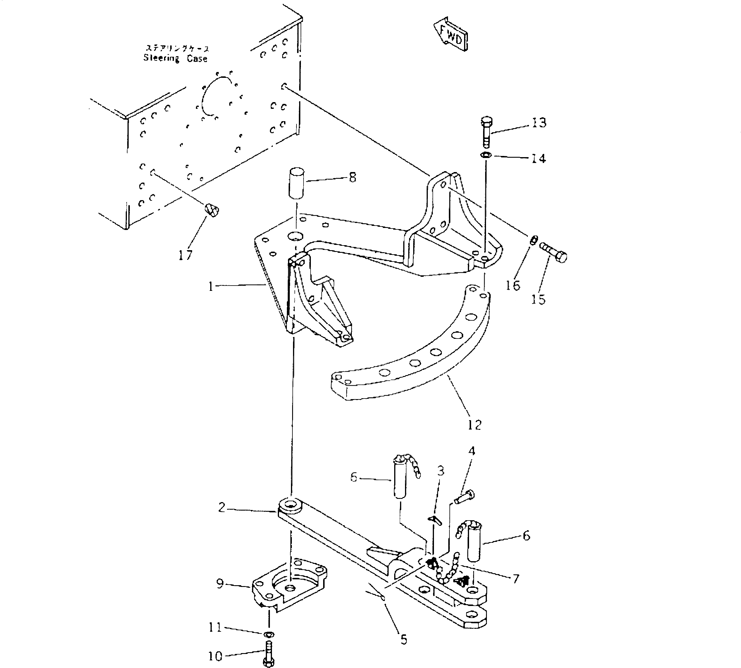
1

113-69-23110

BRACKET

SN: 3001-UP

1шт.

|2

113-69-00100

DRAWBAR ASS'Y

SN: 3001-UP

1шт.

2

113-69-23120

DRAWBAR

SN: 3001-UP

1шт.

3

09249-00009

LATCH

SN: 3001-UP

2шт.

4

04205-10825

PIN

SN: 3001-UP

2шт.

5

04050-12012

PIN,COTTER

SN: 3001-UP

2шт.

6

09247-35120

PIN

SN: 3001-UP

2шт.

7

09245-24824

CHAIN

SN: 3001-UP

2шт.

8

113-69-23150

SHAFT

SN: 3001-UP

1шт.

9

113-69-23140

BRACKET

SN: 3001-UP

1шт.

10

01010-52055

BOLT

SN: 3001-UP

4шт.

11

01643-32060

WASHER

SN: 3001-UP

4шт.

12

113-69-23130

SEAT

SN: 3001-UP

1шт.

13

01010-52055

BOLT

SN: 3001-UP

4шт.

14

01643-32060

WASHER

SN: 3001-UP

4шт.

15

01010-52055

BOLT

SN: 3001-UP

6шт.

16

01643-32060

WASHER

SN: 3001-UP

6шт.

17

07049-02025

PLUG

SN: 3001-UP

12шт.

Выбрано товаров: 18