Запчасти Komatsu D37PX-21A ОТВАЛ (ПОВОРОТН. ОТВАЛ С ИЗМ. УГЛОМ DOZER) (ДЛЯ NARROW GAUGE) РАБОЧЕЕ ОБОРУДОВАНИЕ

Схема запчастей Komatsu D37PX-21A - ОТВАЛ (ПОВОРОТН. ОТВАЛ С ИЗМ. УГЛОМ DOZER) (ДЛЯ NARROW GAUGE) РАБОЧЕЕ ОБОРУДОВАНИЕ
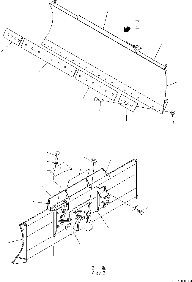
1
1
2
3
4
5
6
7
7
8
8
9
9
10
11
12
13
14
15
16
17
18
19
FIT
1:1
100%

Артикул

Название

Примечание

Количество

1

11Y-72-25311

BLADE ASS'Y

SN: 5559-UP

1шт.

1

11Y-72-25310

BLADE ASS'Y

SN: 5501-5658

1шт.

2

0

BRACKET (WELDED)

SN: 5501-UP

1шт.

3

11Y-72-25130

BRACKET,L.H. (WELDED)

SN: 5501-UP

1шт.

4

11Y-72-25140

BRACKET,R.H. (WELDED)

SN: 5501-UP

1шт.

5

11Y-72-25151

BRACKET (WELDED)

SN: 5501-UP

1шт.

6

11Y-72-22F21

PLATE (WELDED)

SN: 5659-UP

1шт.

6

11Y-72-22F20

PLATE (WELDED)

SN: 5501-5658

1шт.

7

11Y-72-25F21

PLATE (WELDED)

SN: 5659-UP

2шт.

7

11Y-72-25F20

PLATE (WELDED)

SN: 5501-5658

2шт.

8

11Y-72-25F31

PLATE (WELDED)

SN: 5659-UP

2шт.

8

11Y-72-25F30

PLATE (WELDED)

SN: 5501-5658

2шт.

9

112-946-1510

BIT

SN: 5501-UP

2шт.

10

12F-70-31281

EDGE

SN: 5501-UP

1шт.

11

12F-70-31261

EDGE

SN: 5501-UP

1шт.

12

02090-11055

BOLT

SN: 5501-UP

22шт.

13

02290-11016

NUT

SN: 5501-UP

22шт.

14

07020-00675

FITTING,GREASE

SN: 5501-UP

1шт.

15

11Y-72-25180

COVER

SN: 5501-UP

1шт.

16

01643-31232

WASHER

SN: 5501-UP

2шт.

17

01010-81225

BOLT

SN: 5501-UP

2шт.

18

09601-50000

PLATE, NAME,(LIMITED SUPPLY)

SN: 5695-UP

1шт.

18

09601-60000

PLATE, NAME,(LIMITED SUPPLY)

SN: 5501-5694

1шт.

19

04418-13060

SCREW

SN: 5501-UP

4шт.

Выбрано товаров: 24