Запчасти Komatsu D37PX-22 ОСНОВН. РАМА (№-) ОСНОВН. РАМА, БЕЗ ДОПОЛН. ВОДООТДЕЛИТЕЛЬ, АВТОМАТИЧ. ВОЗД. BLEEDING НАСОС ДЛЯ ТОПЛИВН. КОНТУР

Схема запчастей Komatsu D37PX-22 - ОСНОВН. РАМА (№-) ОСНОВН. РАМА, БЕЗ ДОПОЛН. ВОДООТДЕЛИТЕЛЬ, АВТОМАТИЧ. ВОЗД. BLEEDING НАСОС ДЛЯ ТОПЛИВН. КОНТУР
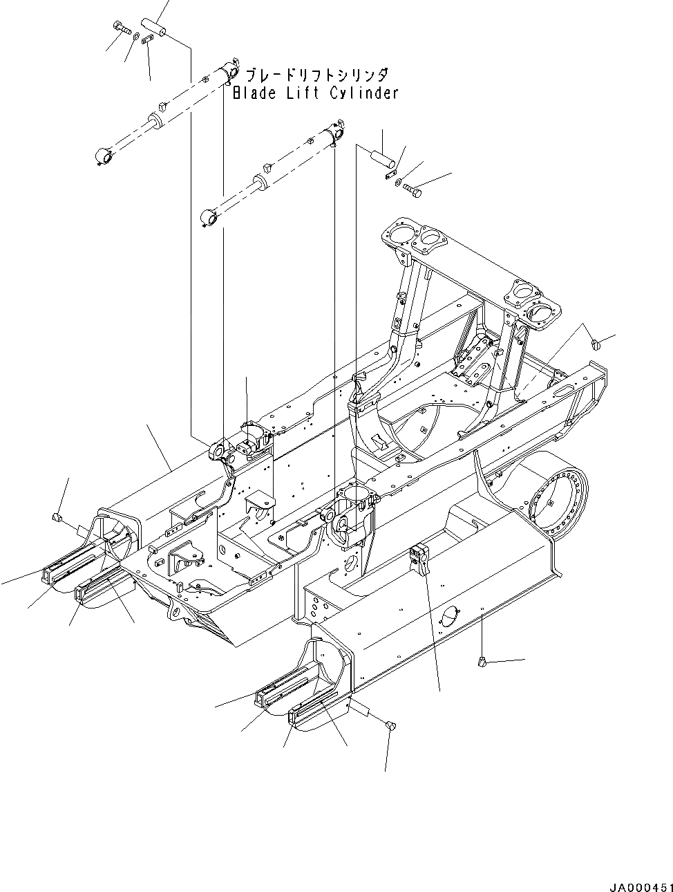
11
13
12
10
12
13
11
10
6
5
4
15
5
3
14
2
7
1
15
8
9
9
16
FIT
1:1
100%

Артикул

Название

Примечание

Количество

1

11Y-21-33106

Frame Assembly

SN: 61229-UP

1шт.

1

11Y-21-33105

Frame Assembly

SN: 60637-61228

1шт.

1

11Y-21-33104

Frame Assembly

SN: 60356-60636

1шт.

|$3

11Y-21-33102

Frame Assembly

SN: 60001-60355

1шт.

2

11Y-21-33271

Bracket,Welded

SN: 60001-UP

1шт.

3

11Y-21-13A71

Bar,Welded

SN: 60001-UP

2шт.

4

11Y-21-13H10

Plate,Welded

SN: 60001-UP

4шт.

5

12G-21-51G70

Plate,Welded

SN: 60001-UP

2шт.

6

11Y-21-33271

Bracket,Welded

SN: 60001-UP

1шт.

7

11Y-21-13A71

Bar,Welded

SN: 60001-UP

2шт.

8

11Y-21-13H10

Plate,Welded

SN: 60001-UP

4шт.

9

12G-21-51G70

Plate,Welded

SN: 60001-UP

2шт.

10

134-72-61510

Pin

SN: 60001-UP

2шт.

11

113-70-21280

Lock

SN: 60001-UP

2шт.

12

01010-81025

Bolt

SN: 60001-UP

4шт.

13

01643-31032

Washer

SN: 60001-UP

4шт.

14

07049-01620

Plug

SN: 60001-UP

16шт.

15

07049-01215

Plug

SN: 60001-UP

8шт.

16

07049-02430

Plug

SN: 60001-UP

18шт.

Выбрано товаров: 19