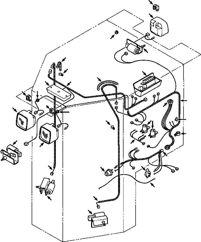
Запчасти Komatsu D38E-1 КАБИНА ROPS - /9 ЭЛЕКТРОПРОВОДКА SUPERSTRUCTURE

Схема запчастей Komatsu D38E-1 - КАБИНА ROPS - /9 ЭЛЕКТРОПРОВОДКА SUPERSTRUCTURE
9
8
22
4
13
3
1
4
7
6
22
9
17
9
8
23
22
14
3
15
19
10
16
8
18
2
20
24
21
5
12
11
FIT
1:1
100%

Артикул

Название

Примечание

Количество

|$0

1304 301 H91

CAB ASSY, COMPLETE

1шт.

1

PANEL, CONTROL (SEE PG 13-072)

-29шт.

|$2

31 006 R1

SCREW, PAN HEAD - M6x16

4шт.

|$3

934 948 R1

WASHER, FLAT - M6

4шт.

2

1304 334 H91

HARNESS, RIGHT DOOR

1шт.

3

1309 331 H1

CLIP, HARNESS

2шт.

|$6

1309 615 H1

SCREW

4шт.

|$7

30 289 R1

WASHER, FLAT - M4

4шт.

4

1309 332 H1

SPRING, GUARD

2шт.

5

1304 335 H91

HARNESS, LEFT DOOR

1шт.

6

1304 332 H91

HARNESS, FRONT

1шт.

7

1309 333 H1

LIGHT, OVERHEAD

1шт.

|$12

1309 615 H1

SCREW

2шт.

|$13

30 289 R1

WASHER, FLAT - M4

2шт.

8

LIGHT, WORK (SEE PG 13-074)

-29шт.

9

1281 358 H1

BRACKET, LIGHT

3шт.

|$16

931 830 R1

BOLT, HEX - M8x20

3шт.

|$17

931 841 R1

BOLT, HEX - M8x50

3шт.

10

WIPER MOTOR, FRONT CENTER (SEE PG 13-080)

-29шт.

|$19

26 080 R1

BOLT, HEX - 1/4NFx1/2

1шт.

|$20

120 380

WASHER, LOCK - 1/4

1шт.

11

WIPER MOTOR, FRONT LEFT (SEE PG 13-080)

-29шт.

|$22

26 080 R1

BOLT, HEX - 1/4NFx1/2

1шт.

|$23

120 380

WASHER, LOCK - 1/4

1шт.

12

WIPER MOTOR, FRONT RIGHT (SEE PG 13-082)

-29шт.

|$25

26 080 R1

BOLT, HEX - 1/4NFx1/2

1шт.

|$26

120 380

WASHER, LOCK - 1/4

1шт.

13

WIPER MOTOR, REAR (SEE PG 13-084)

-29шт.

|$28

26 080 R1

BOLT, HEX - 1/4NFx1/2

1шт.

|$29

120 380

WASHER, LOCK - 1/4

1шт.

14

PUMP, WASHER (SEE PG 13-076)

-29шт.

15

70 928

BREAKER, CIRCUIT - 20 AMP

1шт.

|$32

1309 611 H1

SCREW

2шт.

|$33

30 264 R1

WASHER, LOCK - M5

1шт.

16

1304 338 H91

HARNESS, WASHER PUMP

1шт.

17

1304 333 H91

HARNESS, CAB

1шт.

18

1304 336 H91

HARNESS, CAB POWER

1шт.

|$37

1309 900 H1

SCREW, GROUND

1шт.

|$38

933 833 R1

WASHER, FLAT

1шт.

|$39

459 330 C1

WASHER, LARGE LOCK

1шт.

|$40

459 329 C1

NUT, CONNECTOR

1шт.

19

114 217 R1

CLIP, WIRING

1шт.

20

213 383 H1

BREAKER, CIRCUIT - 50 AMP

1шт.

|$43

159 957

SCREW, PAN HEAD

2шт.

|$44

30 264 R1

WASHER, LOCK - M5

2шт.

21

1304 337 H91

CABLE, MAG SWITCH

1шт.

|$46

935 522 C1

STRAP, TIE

-2шт.

22

187 540

GROMMET, RUBBER

3шт.

23

SWITCH, HEATER (SEE PG 13-086)

-29шт.

24

SWITCH, MASTER (SEE PG 08-010)

-29шт.

Выбрано товаров: 50