Запчасти Komatsu D38E-1 ТОРМОЗНОЙ КЛАПАН УПРАВЛ-Е ТОРМОЗ.S

Схема запчастей Komatsu D38E-1 - ТОРМОЗНОЙ КЛАПАН УПРАВЛ-Е ТОРМОЗ.S
4
3
2
3
6
7
8
1
10
9
5
11
FIT
1:1
100%

Артикул

Название

Примечание

Количество

|$0

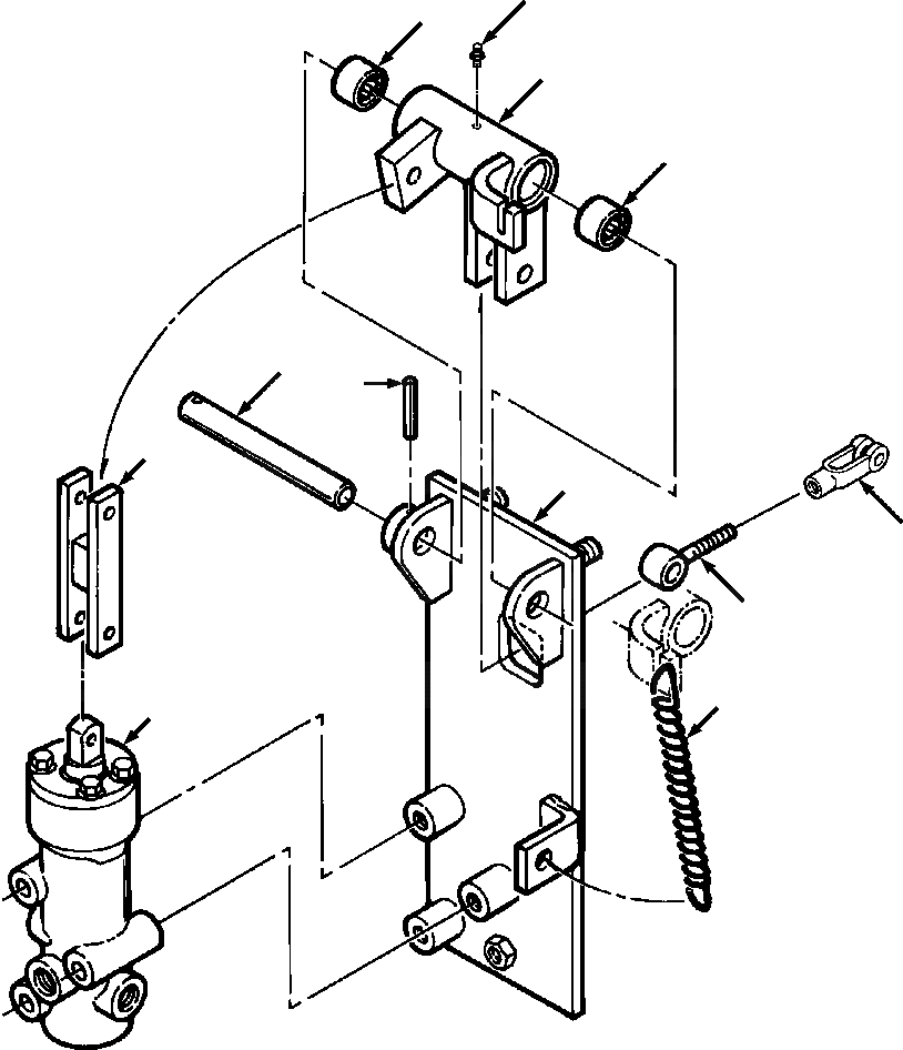
1306 944 H91

VALVE AND BRACKET ASSY, BRAKE

-54шт.

1

1306 954 H91

BRACKET, BRAKE

1шт.

|$2

1281 715 H91

BELLCRANK ASSY, BRAKE

-54шт.

2

1281 716 H91

BELLCRANK

1шт.

3

173 892 C91

BEARING, NEEDLE

2шт.

4

109 454

FITTING, LUBE

1шт.

5

346 019 R1

SPRING

1шт.

6

1268 173 H1

SHAFT, CONTROL

1шт.

7

19 444 R1

PIN, ROLL - 5/32x1-3/8

1шт.

8

1281 714 H91

LINK, BRAKE

1шт.

|$10

26 114 R1

PIN, CLEVIS - 1/4x1-1/4

1шт.

|$11

103 361

PIN, COTTER - 1/16x1/2

1шт.

9

1258 313 H91

EYE, STEERING

1шт.

|$13

25 934 R1

NUT, JAM - 3/8NF

1шт.

|$14

865 197 R1

PIN, CLEVIS - 3/8x1-7/32

1шт.

|$15

103 373

PIN, COTTER - 3/32x3/4

1шт.

10

116 536

CLEVIS - 3/8

1шт.

|$17

865 197 R1

PIN, CLEVIS - 3/8x1-7/32

1шт.

|$18

103 373

PIN, COTTER - 3/32x3/4

1шт.

11

VALVE, BRAKE (SEE PG 07-086)

-29шт.

|$20

25 235 R1

BOLT, HEX - 5/16NCx2-1/2

3шт.

|$21

25 533 R1

WASHER, FLAT - 5/16

3шт.

|$$23

-1шт.

|$23

F1 - PART NUMBER IS A NON-SERVICE PART AND IS LISTED FOR REFERENCE ONLY.

-1шт.

|$$25

-1шт.

Выбрано товаров: 25