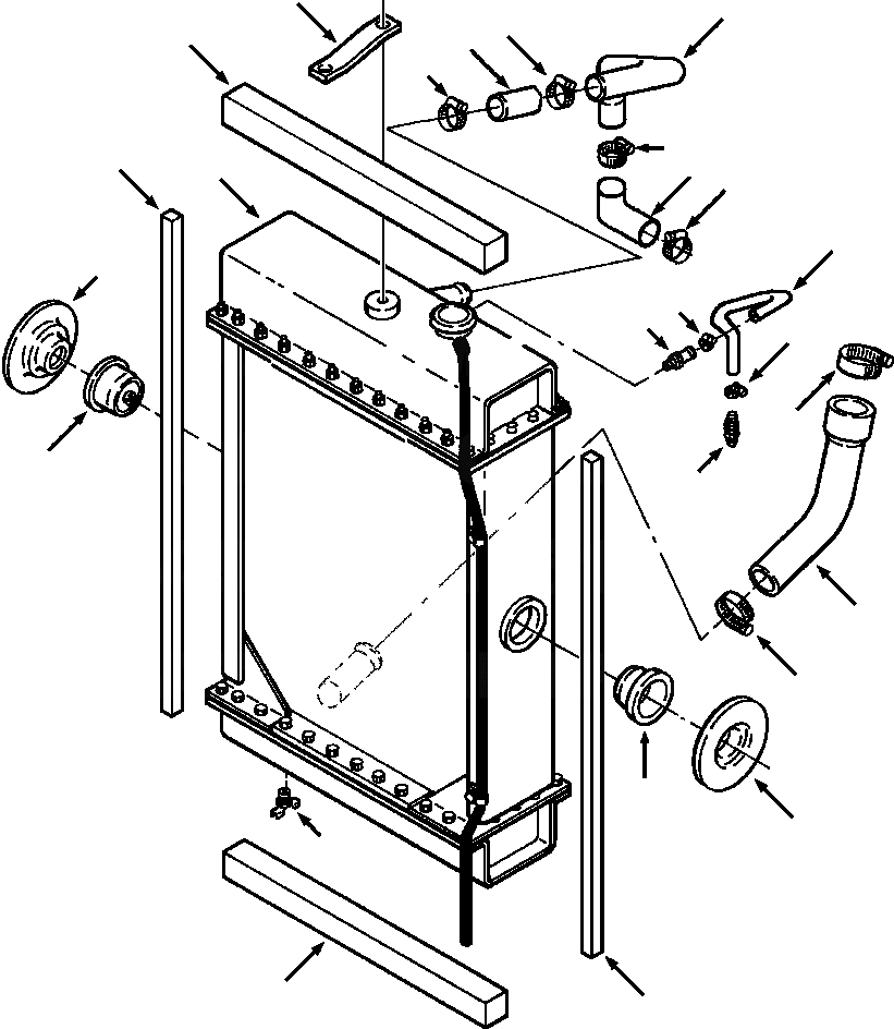
Запчасти Komatsu D38E-1 РАДИАТОР И СОЕДИН-ЕS ОХЛАЖД-Е

Схема запчастей Komatsu D38E-1 - РАДИАТОР И СОЕДИН-ЕS ОХЛАЖД-Е
17
4
5
10
16
5
5
11
1
15
5
12
2
14
13
14
8
3
18
6
7
3
2
9
10
11
FIT
1:1
100%

Артикул

Название

Примечание

Количество

|$0

1311 221 H91

RADIATOR AND CONNECTIONS

-54шт.

1

RADIATOR (SEE PG 06-004)

-29шт.

2

622 456 C1

BRACKET, MOUNTING

2шт.

|$3

24 859 R1

BOLT, HEX - 1/2NCx3/4

6шт.

|$4

25 536 R1

WASHER, FLAT - 1/2

6шт.

3

274 287 R2

INSULATOR, RUBBER

2шт.

4

1309 150 H1

TUBE, OUTLET

1шт.

5

279 027 R91

CLAMP, HOSE

4шт.

6

1269 073 H1

HOSE, INLET

1шт.

7

279 038 R91

CLAMP, HOSE

1шт.

8

279 026 R91

CLAMP, HOSE

1шт.

9

103 647

DRAINCOCK

1шт.

10

1269 932 H1

SEAL, TOP AND BOTTOM

2шт.

11

1269 933 H1

SEAL, SIDE

2шт.

12

HOSE, VENT - 18IN LONG

1шт.

13

176 057 H1

FITTING, HOSE

1шт.

14

27 860 R1

CLAMP, HOSE

2шт.

|$17

306 132 C2

STRAP, TIE

-2шт.

15

1309 089 H1

HOSE, UPPER RADIATOR

1шт.

16

1129 556 H1

HOSE

1шт.

17

LINK, STABILIZER (SEE PG 09-002)

-29шт.

18

FITTING, VENT (SEE PG 12-106)

-29шт.

|$22

364 357 C1

HOSE, BULK

-2шт.

|$$24

-1шт.

|$24

F1 - PART NUMBER IS A NON-SERVICE PART AND IS LISTED FOR REFERENCE ONLY.

-1шт.

|$$26

-1шт.

|$$27

-1шт.

|$27

F2 - CUT REQUIRED LENGTH FROM BULK HOSE 364 357 C1.

-1шт.

|$$29

-1шт.

Выбрано товаров: 29