Качественные детали и логистика
Оригинальные и аналоговые запчасти с доставкой по России, Казахстану и Беларуси
©2022 PartSell ООО "Система" ИНН 2463123282 ОГРН 1212400004838
Центральный офис: г. Красноярск, Академика Киренского, д.87, пом.4
Телефон: 8 (800) 777-65-74 Email: zakaz@partsell.ru
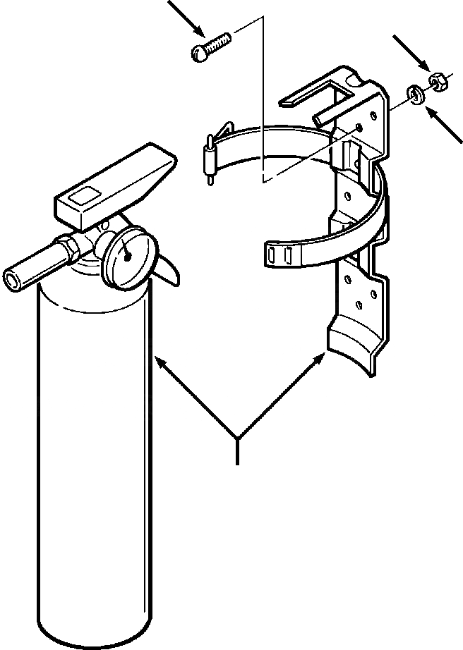
ОГНЕТУШИТЕЛЬ
№
Артикул
Название
Примечание
Количество
|$0
650 792 C91
FIRE EXTINGUISHER
-54шт.
1
549 973 C91
EXTINGUISHER AND BRACKET, FIRE
1шт.
2
120 221
SCREW, MOUNTING - #10NCx1/2
4шт.
3
115 707
WASHER, LOCK - #10
4
120 361
NUT, HEX - #10NC
|$$6
-1шт.
|$6
F1 - PART NUMBER IS A NON-SERVICE PART AND IS LISTED FOR REFERENCE ONLY.
|$$8
Выбрано товаров: 0