Запчасти Komatsu D38E-1A FIG. K-A ТОРМОЗ./DECELERATION ПЕДАЛЬ И КОРПУС КАБИНА ОПЕРАТОРА И СИСТЕМА УПРАВЛЕНИЯ

Схема запчастей Komatsu D38E-1A - FIG. K-A ТОРМОЗ./DECELERATION ПЕДАЛЬ И КОРПУС КАБИНА ОПЕРАТОРА И СИСТЕМА УПРАВЛЕНИЯ
5
7
6
2
3
4
1
2
3
FIT
1:1
100%

Артикул

Название

Примечание

Количество

|$0

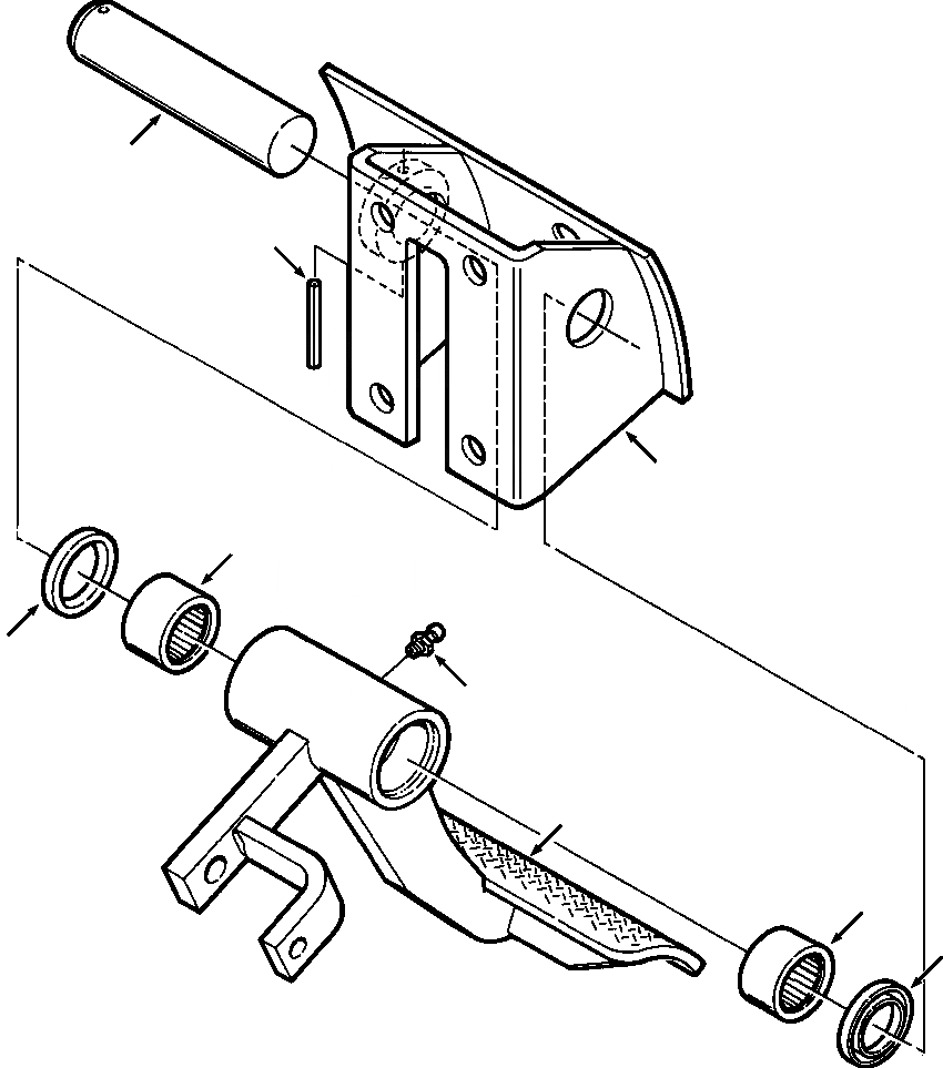
1281 110 H91

PEDAL AND BRACKET, BRAKE

SN: P086301 --UP

1шт.

|$1

1281 114 H91

PEDAL ASSEMBLY, BRAKE

SN: P086301 --UP

1шт.

1

1281 115 H92

PEDAL, BRAKE

SN: P086301 --UP

1шт.

2

102 613 R91

BEARING, NEEDLE

SN: P086301 --UP

2шт.

3

1299 283 H1

SEAL, BEARING

SN: P086301 --UP

2шт.

4

109 454

FITTING, LUBE

SN: P086301 --UP

1шт.

5

1281 136 H1

SHAFT, CROSS

SN: P086301 --UP

1шт.

6

1281 111 H92

BRACKET, BRAKE PEDAL

SN: P086301 --UP

1шт.

7

618 573 R1

PIN, ROLL

SN: P086301 --UP

1шт.

|$9

-1шт.

|$10

F1 PART NUMBER IS A NONSERVICE PART AND IS LISTED FOR REFERENCE ONLY. ORDER INDIVIDUAL PIECE PARTS.

-1шт.

|$11

-1шт.

Выбрано товаров: 12