Запчасти Komatsu D38E-1A FIG. R-A IN ГУСЕНИЦЫS - D8E-A ХОДОВАЯ

Схема запчастей Komatsu D38E-1A - FIG. R-A IN ГУСЕНИЦЫS - D8E-A ХОДОВАЯ
2
4
1
3
6
8
5
7
FIT
1:1
100%

Артикул

Название

Примечание

Количество

|$0

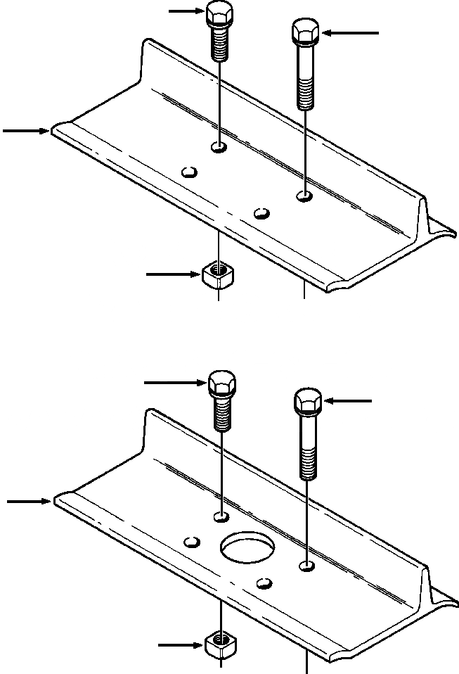
1281 164 H91

TRACK SHOES

SN: P086301 --UP

1шт.

1

1236 985 H1

SHOE, TRACK

SN: P086301 --UP

74шт.

2

616 199 C4

BOLT, TRACK SHOE

SN: P086301 --UP

288шт.

3

616 200 C1

NUT, TRACK SHOE

SN: P086301 --UP

288шт.

4

BOLT, MASTER LINK (SEE FIG. R0500-02A0)

SN: P086301 --UP

8шт.

|$5

1281 165 H91

TRACK SHOE, MUD RELIEF

SN: P086301 --UP

1шт.

5

1237 418 H1

SHOE, TRACK

SN: P086301 --UP

74шт.

6

616 199 C4

BOLT, TRACK SHOE

SN: P086301 --UP

288шт.

7

616 200 C1

NUT, TRACK SHOE

SN: P086301 --UP

288шт.

8

BOLT, MASTER LINK (SEE FIG. R0500-02A0)

SN: P086301 --UP

8шт.

|$10

-1шт.

|$11

F1 PART NUMBER IS A NONSERVICE PART AND IS LISTED FOR REFERENCE ONLY. ORDER INDIVIDUAL PIECE PARTS.

-1шт.

|$12

-1шт.

Выбрано товаров: 13