Запчасти Komatsu D38E-1A FIG. B-A DECELERATOR OVER ХОД КОМПОНЕНТЫ ДВИГАТЕЛЯ

Схема запчастей Komatsu D38E-1A - FIG. B-A DECELERATOR OVER ХОД КОМПОНЕНТЫ ДВИГАТЕЛЯ
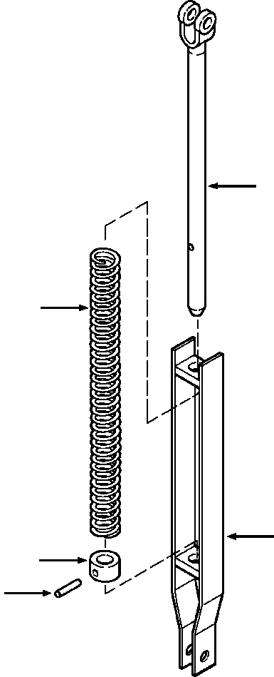
1
5
2
3
4
FIT
1:1
100%

Артикул

Название

Примечание

Количество

|$0

1268 228 H91

OVER TRAVEL ASSEMBLY, DECELERATOR

SN: P086301 --UP

1шт.

1

1258 317 H91

ROD, OVER TRAVEL

SN: P086301 --UP

1шт.

2

1258 319 H91

BODY, OVER TRAVEL

SN: P086301 --UP

1шт.

3

331 150 R1

SPACER, SPRING

SN: P086301 --UP

1шт.

4

364 437 R1

PIN, SPRING - 3/16x7/8

SN: P086301 --UP

1шт.

5

1258 320 H1

SPRING, OVER TRAVEL

SN: P086301 --UP

1шт.

|$6

-1шт.

|$7

F1 - PART NUMBER IS A NON-SERVICE PART AND IS LISTED FOR REFERENCE ONLY. ORDER INDIVIDUAL PIECE PARTS.

-1шт.

|$8

-1шт.

Выбрано товаров: 9