Запчасти Komatsu D38E-1A FIG. F-A ТОРМОЗ. СУППОРТ КОРПУС СИЛОВАЯ ПЕРЕДАЧА И КОНЕЧНАЯ ПЕРЕДАЧА

Схема запчастей Komatsu D38E-1A - FIG. F-A ТОРМОЗ. СУППОРТ КОРПУС СИЛОВАЯ ПЕРЕДАЧА И КОНЕЧНАЯ ПЕРЕДАЧА
6
8
7
6
1
2
5
3
10
4
4
5
2
9
FIT
1:1
100%

Артикул

Название

Примечание

Количество

|$0

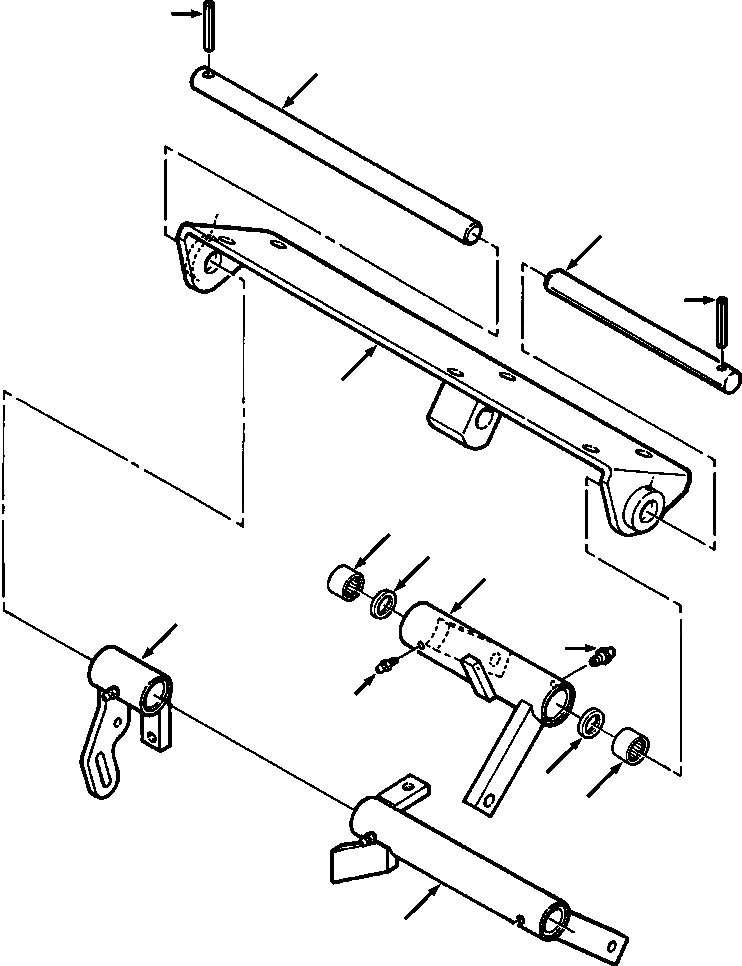
1281 120 H91

BRACKET ASSEMBLY, BRAKE SUPPORT

SN: P086301 --UP

1шт.

1

1281 121 H91

BRACKET, SUPPORT

SN: P086301 --UP

1шт.

|$2

1281 129 H91

BELLCRANK ASSEMBLY, MAIN

SN: P086301 --UP

1шт.

2

740 465 C91

BEARING, SEALED

SN: P086301 --UP

2шт.

3

1281 130 H91

BELLCRANK, MAIN

SN: P086301 --UP

1шт.

4

109 454

FITTING, LUBE

SN: P086301 --UP

2шт.

5

1269 907 H1

SEAL, GREASE

SN: P086301 --UP

2шт.

6

19 795 R1

PIN, ROLL - 1/4x1-3/4

SN: P086301 --UP

1шт.

7

1281 126 H1

SHAFT, BRAKE

SN: P086301 --UP

1шт.

8

SHAFT, THROTTLE (SEE FIG. B0000-01A0)

SN: P086301 --UP

1шт.

9

BELLCRANK, THROTTLE CONTROL (SEE FIG. B0000-01A1)

SN: P086301 --UP

1шт.

10

BELLCRANK, CONTROL THROTTLE(SEE FIG. B0000-01A1)

SN: P086301 --UP

1шт.

|$12

-1шт.

|$13

F1 PART NUMBER IS A NONSERVICE PART AND IS LISTED FOR REFERENCE ONLY. ORDER INDIVIDUAL PIECE PARTS.

-1шт.

|$14

-1шт.

Выбрано товаров: 15