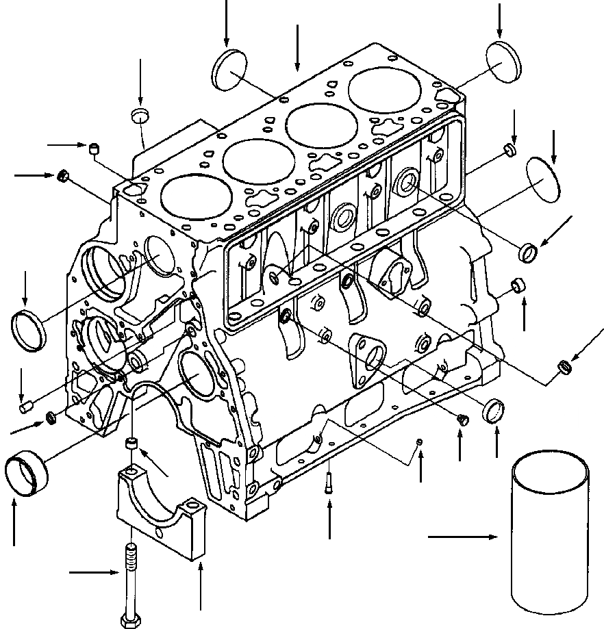
Запчасти Komatsu D39E-1 БЛОК ЦИЛИНДРОВ POWER

Схема запчастей Komatsu D39E-1 - БЛОК ЦИЛИНДРОВ POWER
5
5
1
15
7
11
9
13
6
5
2
16
12
7
18
14
8
17
19
10
2
3
4
FIT
1:1
100%

Артикул

Название

Примечание

Количество

|$0

1242 054 H91

BLOCK ASSY, CYLINDER - SERVICE

1шт.

1

NSS

BLOCK, SERVICE

1шт.

2

6732-21-1410

BUSHING

1шт.

3

6732-21-1610

BOLT - M14x119

10шт.

4

6732-21-1210

CAP, MAIN BEARING

5шт.

5

6736-21-1810

PLUG, EXPANSION

4шт.

6

6736-21-1820

PLUG, EXPANSION

2шт.

7

1240 152 H1

PLUG, EXPANSION

3шт.

8

1240 121 H1

DOWEL, RING

10шт.

|$9

1295 787 H91

KIT, BLOCK HARDWARE

1шт.

9

6732-21-6140

DOWEL, RING

2шт.

10

6732-21-1190

NOZZLE, PISTON COOLING

4шт.

11

1240 121 H1

DOWEL, RING

2шт.

12

6732-21-6120

DOWEL, PIN

2шт.

13

6732-11-1910

PLUG, PIPE

1шт.

14

6732-11-1930

PLUG, PIPE

2шт.

15

6735-21-5530

PLUG, EXPANSION

1шт.

16

6732-21-6130

PLUG, EXPANSION

1шт.

17

6732-21-5530

PLUG, EXPANSION

1шт.

18

6732-21-6160

PLUG, EXPANSION

1шт.

|$$21

-1шт.

|$21

SERVICE PARTS

-1шт.

2

6736-29-1410

BUSHING (OVERSIZE FOR NO. 1 BORE.)

-2шт.

2

6736-29-1420

BUSHING (OVERSIZE FOR NO 2 - 5 BORE)

-2шт.

4

6732-21-1210

CAP, MAIN BEARING

5шт.

19

6736-29-2110

SLEEVE, SALVAGE (STD BORE)

-2шт.

Выбрано товаров: 26