Запчасти Komatsu D39E-1 ТОРМОЗНОЙ КЛАПАН УПРАВЛ-Е ТОРМОЗ.S

Схема запчастей Komatsu D39E-1 - ТОРМОЗНОЙ КЛАПАН УПРАВЛ-Е ТОРМОЗ.S
3
2
3
5
6
7
1
9
8
4
10
FIT
1:1
100%

Артикул

Название

Примечание

Количество

|$0

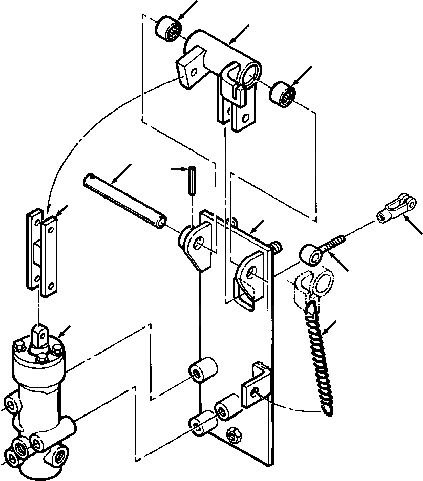
1306 944 H91

VALVE AND BRACKET ASSY, BRAKE

-54шт.

1

1306 954 H91

BRACKET, BRAKE

1шт.

|$2

1281 715 H91

BELLCRANK ASSY, BRAKE

-54шт.

2

1281 716 H91

BELLCRANK

1шт.

3

173 892 C91

BEARING, NEEDLE

2шт.

4

346 019 R1

SPRING

1шт.

5

1268 173 H1

SHAFT, CONTROL

1шт.

6

19 444 R1

PIN, ROLL - 5/32x1-3/8

1шт.

7

1281 714 H91

LINK, BRAKE

1шт.

|$9

26 114 R1

PIN, CLEVIS - 1/4x1-1/4

1шт.

|$10

103 361

PIN, COTTER - 1/16x1/2

1шт.

8

1258 313 H91

EYE, STEERING

1шт.

|$12

25 934 R1

NUT, JAM - 3/8NF

1шт.

|$13

865 197 R1

PIN, CLEVIS - 3/8x1-7/32

1шт.

|$14

103 373

PIN, COTTER - 3/32x3/4

1шт.

9

116 536

CLEVIS - 3/8

1шт.

|$16

865 197 R1

PIN, CLEVIS - 3/8x1-7/32

1шт.

|$17

103 373

PIN, COTTER - 3/32x3/4

1шт.

10

VALVE, BRAKE (SEE PG 07-082)

-29шт.

|$19

25 235 R1

BOLT, HEX - 5/16NCx2-1/2

3шт.

|$20

25 533 R1

WASHER, FLAT - 5/16

3шт.

|$$22

-1шт.

|$22

F1 - PART NUMBER IS A NON-SERVICE PART AND IS LISTED FOR REFERENCE ONLY.

-1шт.

|$$24

-1шт.

Выбрано товаров: 24