Запчасти Komatsu D39E-1 ОТВАЛ ОБОРУД-Е D9E- КРЕПЛЕНИЕED ОБОРУД-Е

Схема запчастей Komatsu D39E-1 - ОТВАЛ ОБОРУД-Е D9E- КРЕПЛЕНИЕED ОБОРУД-Е
7
4
7
7
4
8
7
3
13
7
5
2
7
13
10
1
7
3
6
7
11
12
7
14
5
9
FIT
1:1
100%

Артикул

Название

Примечание

Количество

|$0

1262 757 H91

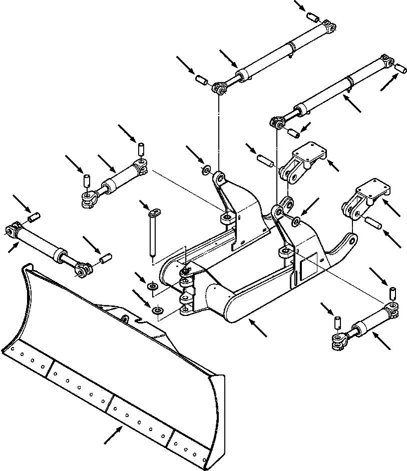
BLADE EQUIPMENT

-54шт.

|$1

1262 760 H91

TRUNNIONS

-54шт.

1

1280 387 H91

TRUNNION, LEFT

1шт.

|$3

25 646 R1

BOLT, HEX - 1NCx2-3/4

4шт.

|$4

25 550 R1

WASHER, FLAT - 1

4шт.

2

1280 388 H91

TRUNNION, RIGHT

1шт.

|$6

25 646 R1

BOLT, HEX - 1NCx2-3/4

4шт.

|$7

25 550 R1

WASHER, FLAT - 1

4шт.

3

1279 063 H1

PIN, C FRAME

2шт.

|$9

24 880 R1

BOLT, HEX - 5/8NCx3-1/2

2шт.

|$10

9412 231

NUT, LOCK - 5/8NC

2шт.

|$11

1262 850 H91

DOZER CYLINDERS

-54шт.

4

CYLINDER, LIFT (SEE PG 10-058)

-29шт.

5

CYLINDER, ANGLE (SEE PG 10-062)

-29шт.

6

CYLINDER, TILT (SEE PG 10-060)

-29шт.

7

1270 112 H1

PIN, MOUNTING

9шт.

|$16

24 856 R1

BOLT, HEX - 7/16NCx4

9шт.

|$17

9413 981

NUT, LOCK - 7/16NC

9шт.

8

1279 088 H1

PIN, MOUNTING

1шт.

|$19

24 856 R1

BOLT, HEX - 7/16NCx4

1шт.

|$20

9413 981

NUT, LOCK - 7/16NC

1шт.

9

BLADE AND ANGLING FRAME (SEE PG 17-006)

-29шт.

10

1270 296 H91

PIN, LOCK

1шт.

|$23

24 859 R1

BOLT, HEX - 1/2NCx3/4

1шт.

|$24

932 278 C1

WASHER, FLAT - 1-3/8

1шт.

11

1209 358 H1

SHIM, FRAME - 0.090IN

-2шт.

12

1209 358 H1

SHIM, FRAME - 0.090IN

1шт.

13

1209 358 H1

SHIM, FRAME - 0.090IN

2шт.

14

FRAME, C (SEE PG 17-012)

-29шт.

|$29

TUBING AND HOSES (SEE PG 10-006)

-29шт.

|$$31

-1шт.

|$31

F1 - PART NUMBER IS A NON-SERVICE PART AND IS LISTED FOR REFERENCE ONLY.

-1шт.

|$$33

-1шт.

|$$34

-1шт.

|$34

F2 - MINIMUM OF 1 SHIM TO A MAXIMUM OF 2 SHIMS USED AT THIS POSITION.

-1шт.

|$$36

-1шт.

Выбрано товаров: 36