Запчасти Komatsu D39E-1 ТОРМОЗ. СУППОРТ КОРПУС ТОРМОЗ.S

Схема запчастей Komatsu D39E-1 - ТОРМОЗ. СУППОРТ КОРПУС ТОРМОЗ.S
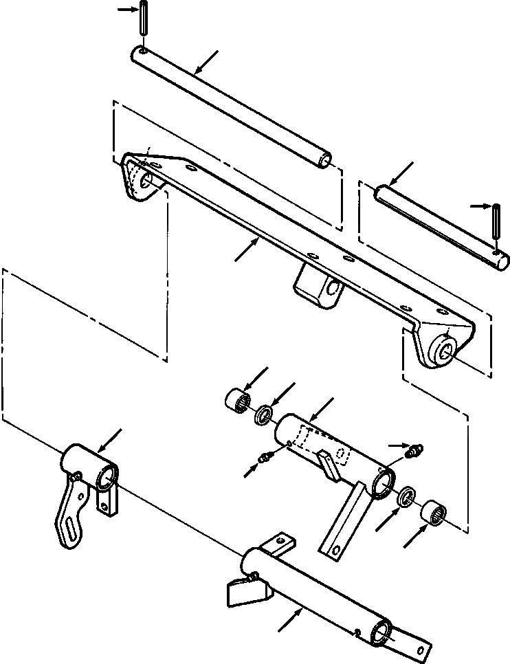
7
8
7
6
1
2
5
3
10
4
4
5
2
9
FIT
1:1
100%

Артикул

Название

Примечание

Количество

|$0

1281 120 H91

BRACKET ASSY, BRAKE SUPPORT

-54шт.

1

1281 121 H91

BRACKET, SUPPORT

1шт.

|$2

1281 129 H91

BELLCRANK ASSY, MAIN

-54шт.

2

740 465 C91

BEARING, SEALED

2шт.

3

1281 130 H91

BELLCRANK, MAIN

1шт.

4

109 454

FITTING, LUBE

2шт.

5

1269 907 H1

SEAL, GREASE

2шт.

6

19 795 R1

PIN, ROLL - 1/4x1-3/4

1шт.

7

1281 126 H1

SHAFT, BRAKE

1шт.

8

SHAFT, THROTTLE (SEE PG 12-012)

-29шт.

9

BELLCRANK, DECELERATOR (SEE PG 12-016)

-29шт.

10

BELLCRANK, THROTTLE CONTROL (SEE PG 12-016)

-29шт.

|$$13

-1шт.

|$13

F1 - PART NUMBER IS A NON-SERVICE PART AND IS LISTED FOR REFERENCE ONLY.

-1шт.

|$$15

-1шт.

Выбрано товаров: 0