Запчасти Komatsu D39E-1 ПЕРФОРИРОВАНН. КАПОТ SUPERSTRUCTURE

Схема запчастей Komatsu D39E-1 - ПЕРФОРИРОВАНН. КАПОТ SUPERSTRUCTURE
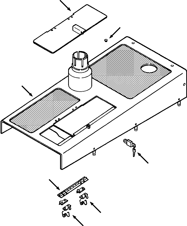
3
5
1
6
2
4
4
FIT
1:1
100%

Артикул

Название

Примечание

Количество

|$0

1311 057 H91

HOOD ASSY, PERFORATED

-54шт.

|$1

1311 058 H91

HOOD ASSY, PERFORATED

1шт.

1

1311 059 H91

HOOD WELDMENT, PERFORATED

1шт.

2

1101 601 C2

HINGE, DOOR

1шт.

|$4

104 068

RIVET - 3/6x5/8

4шт.

3

1259 182 H91

DOOR, HOOD ACCESS

1шт.

|$6

274 957

BOLT, HEX - #10-24x3/4

4шт.

|$7

30 209 R1

WASHER, FLAT - 6MM

8шт.

|$8

19 910 R1

NUT, LOCK - #10-24

4шт.

4

925 997 C1

SPRING, RETAINING

2шт.

5

202 602 H1

GROMMET, BUMPER

3шт.

6

PADLOCK WITH KEYS (SEE PG 02-010)

-29шт.

|$$13

-1шт.

|$13

F1 - PART NUMBER IS A NON-SERVICE PART AND IS LISTED FOR REFERENCE ONLY.

-1шт.

|$$15

-1шт.

Выбрано товаров: 15