Запчасти Komatsu D39E-1 IN ГУСЕНИЦЫS СТАНДАРТН. ГУСЕНИЦЫ КОЛЕСА И TRACTION

Схема запчастей Komatsu D39E-1 - IN ГУСЕНИЦЫS СТАНДАРТН. ГУСЕНИЦЫ КОЛЕСА И TRACTION
2
4
1
3
FIT
1:1
100%

Артикул

Название

Примечание

Количество

|$0

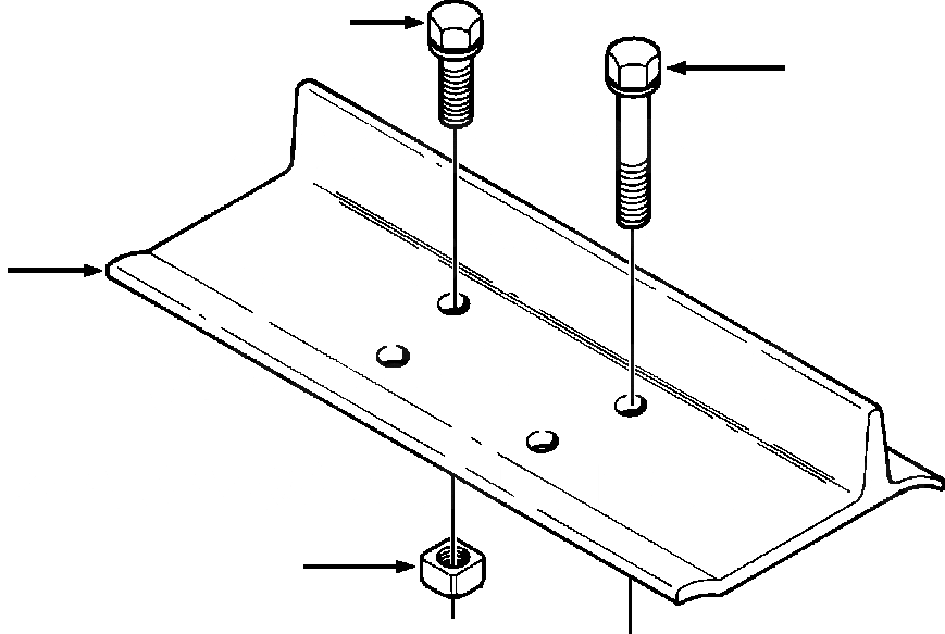
1299 152 H91

TRACK SHOES

-54шт.

1

1299 153 H1

SHOE, TRACK

78шт.

2

616 199 C4

BOLT, TRACK SHOE

304шт.

3

616 200 C1

NUT, TRACK SHOE

304шт.

4

BOLT, MASTER LINK (SEE PG 15-010)

-29шт.

|$$6

-1шт.

|$6

F1 - PART NUMBER IS A NON-SERVICE PART AND IS LISTED FOR REFERENCE ONLY.

-1шт.

|$$8

-1шт.

Выбрано товаров: 8