Запчасти Komatsu D39E-1 ОГНЕТУШИТЕЛЬ РАЗНОЕ

Схема запчастей Komatsu D39E-1 - ОГНЕТУШИТЕЛЬ РАЗНОЕ
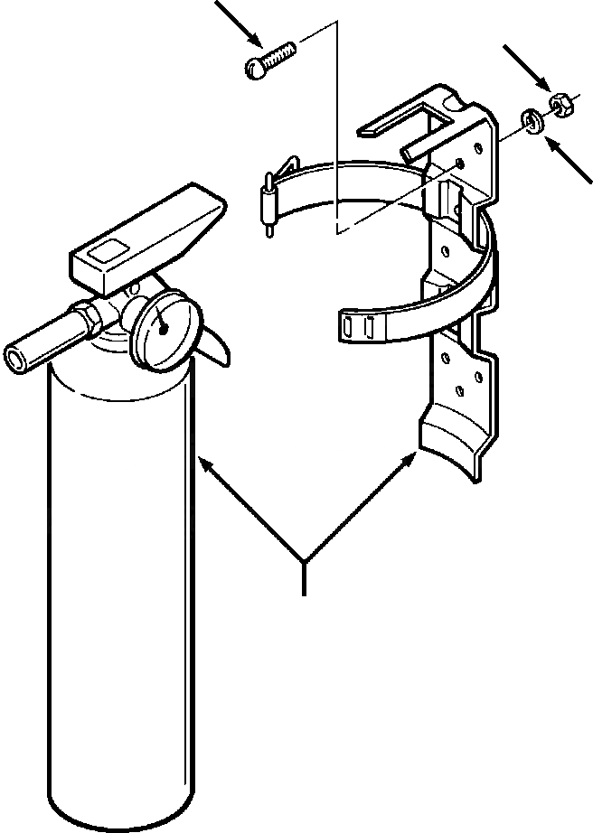
2
4
3
1
FIT
1:1
100%

Артикул

Название

Примечание

Количество

|$0

650 792 C91

FIRE EXTINGUISHER

-54шт.

1

549 973 C91

EXTINGUISHER AND BRACKET, FIRE

1шт.

2

120 221

SCREW, MOUNTING - #10NCx1/2

4шт.

3

115 707

WASHER, LOCK - #10

4шт.

4

120 361

NUT, HEX - #10NC

4шт.

|$$6

-1шт.

|$6

F1 - PART NUMBER IS A NON-SERVICE PART AND IS LISTED FOR REFERENCE ONLY.

-1шт.

|$$8

-1шт.

Выбрано товаров: 0