Запчасти Komatsu D39E-1A FIG. K8-A ОГНЕТУШИТЕЛЬ КАБИНА ОПЕРАТОРА И СИСТЕМА УПРАВЛЕНИЯ

Схема запчастей Komatsu D39E-1A - FIG. K8-A ОГНЕТУШИТЕЛЬ КАБИНА ОПЕРАТОРА И СИСТЕМА УПРАВЛЕНИЯ
2
4
3
1
FIT
1:1
100%

Артикул

Название

Примечание

Количество

|$0

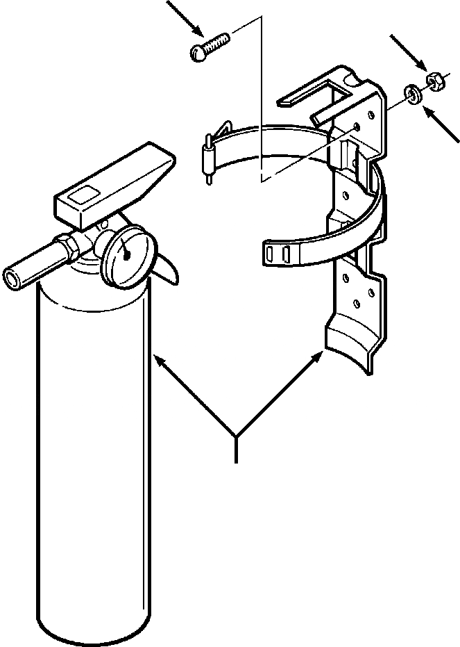
650 792 C91

FIRE EXTINGUISHER

SN: P096338-UP

1шт.

1

549 973 C91

EXTINGUISHER AND BRACKET, FIRE

SN: P096338-UP

1шт.

2

120 221

SCREW #10NCx1/2

SN: P096338-UP

4шт.

3

115 707

WASHER, LOCK #10

SN: P096338-UP

4шт.

4

120 361

NUT, HEX #10NC

SN: P096338-UP

4шт.

|$5

-1шт.

|$6

F1 PART NUMBER IS A NONSERVICE PART AND IS LISTED FOR REFERENCE ONLY. ORDER INDIVIDUAL PIECE PARTS.

-1шт.

|$7

-1шт.

Выбрано товаров: 8