Запчасти Komatsu D39E-1A FIG. M-A ПЕРФОРИРОВАНН. КАПОТ ЧАСТИ КОРПУСА

Схема запчастей Komatsu D39E-1A - FIG. M-A ПЕРФОРИРОВАНН. КАПОТ ЧАСТИ КОРПУСА
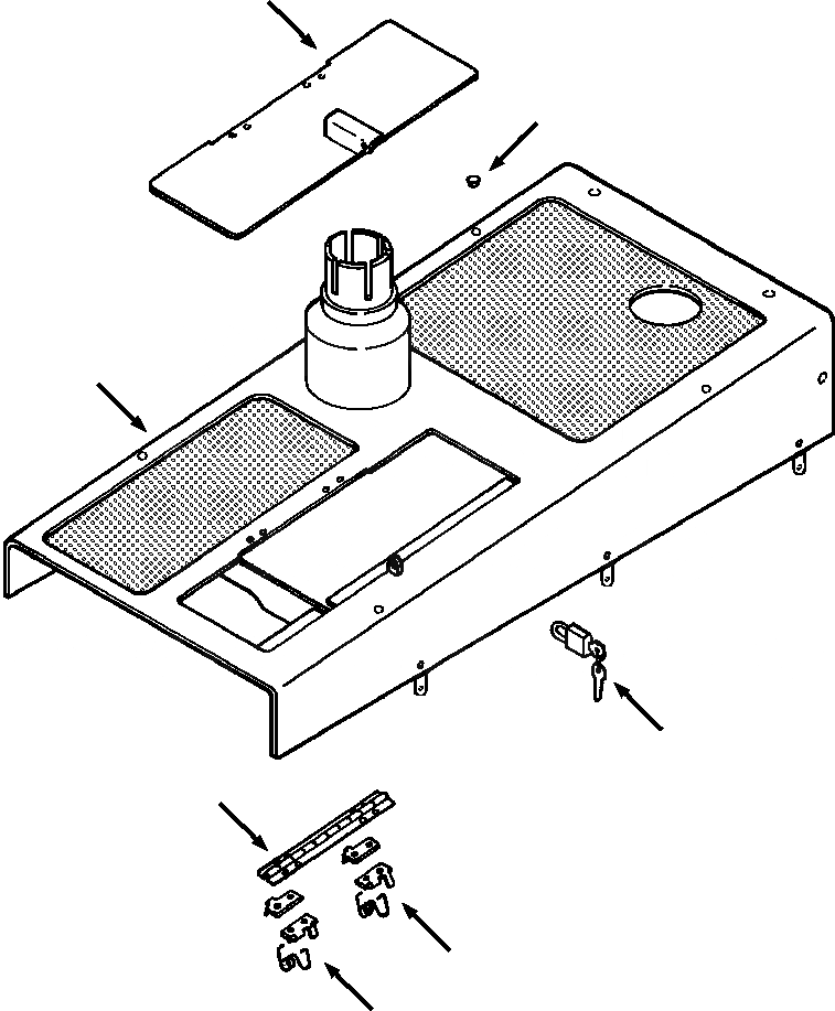
3
5
1
6
2
4
4
FIT
1:1
100%

Артикул

Название

Примечание

Количество

|$0

1311 058 H92

HOOD ASSEMBLY, PERFORATED

SN: P096338-UP

1шт.

1

1311 059 H92

HOOD WELDMENT, PERFORATED

SN: P096338-UP

1шт.

2

1101 601 C2

HINGE, DOOR

SN: P096338-UP

1шт.

|$3

104 068

RIVET - 3/6x5/8

SN: P096338-UP

4шт.

3

1259 182 H91

DOOR, HOOD ACCESS

SN: P096338-UP

1шт.

|$5

30 029 R1

BOLT, HEX - #10-24x3/4

SN: P096338-UP

4шт.

|$6

120 391

WASHER, FLAT - 6 MM

SN: P096338-UP

8шт.

|$7

19 910 R1

NUT, LOCK - #10-24

SN: P096338-UP

4шт.

4

925 997 C1

SPRING, RETAINING

SN: P096338-UP

2шт.

5

202 602 H1

GROMMET, BUMPER

SN: P096338-UP

3шт.

6

650 382 C92

PADLOCK WITH KEYS

SN: P096338-UP

1шт.

|$11

1311 216 H1

KEY, REPLACEMENT

SN: P096338-UP

1шт.

|$12

-1шт.

|$13

F1 - PART NUMBER IS A NON-SERVICE PART AND IS LISTED FOR REFERENCE ONLY. ORDER INDIVIDUAL PIECE PARTS.

-1шт.

|$14

-1шт.

Выбрано товаров: 15