Запчасти Komatsu D39E-1A FIG. R-A 8 IN ГУСЕНИЦЫS - D9E-A ХОДОВАЯ

Схема запчастей Komatsu D39E-1A - FIG. R-A 8 IN ГУСЕНИЦЫS - D9E-A ХОДОВАЯ
2
4
1
3
6
8
5
7
FIT
1:1
100%

Артикул

Название

Примечание

Количество

|$0

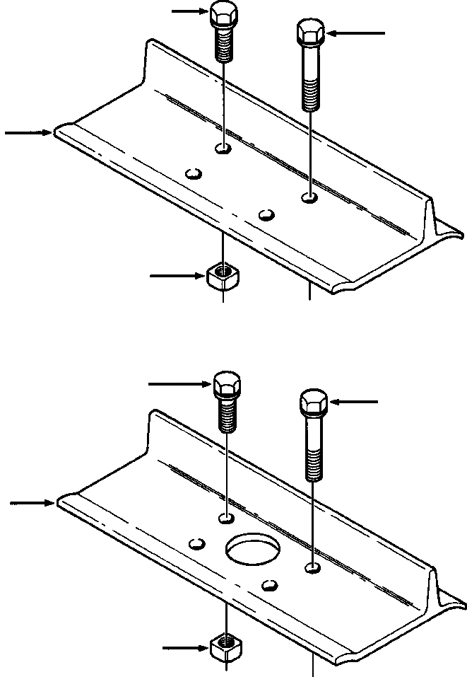
1281 173 H91

TRACK SHOES

SN: PO96338--UP

1шт.

1

1270 461 H1

SHOE, TRACK

SN: P096338-UP

78шт.

2

616 199 C4

BOLT, TRACK SHOE

SN: P096338-UP

304шт.

3

616 200 C1

NUT, TRACK SHOE

SN: P096338-UP

304шт.

4

BOLT, MASTER LINK (SEE FIG. R0500-02A0)

SN: P096338-UP

8шт.

|$5

SN: P096338-UP

-1шт.

|$6

1281 174 H91

TRACK SHOE, MUD RELIEF

SN: P096338-UP

1шт.

5

1270 499 H1

SHOE, TRACK

SN: P096338-UP

78шт.

6

616 199 C4

BOLT, TRACK SHOE

SN: P096338-UP

304шт.

7

616 200 C1

NUT, TRACK SHOE

SN: P096338-UP

304шт.

8

BOLT, MASTER LINK (SEE FIG. R0500-02A0)

SN: P096338-UP

4шт.

|$11

-1шт.

|$12

F1 PART NUMBER IS A NONSERVICE PART AND IS LISTED FOR REFERENCE ONLY. ORDER INDIVIDUAL PIECE PARTS.

-1шт.

|$13

-1шт.

Выбрано товаров: 14