Запчасти Komatsu D39E-1A FIG. R-A IN ГУСЕНИЦЫS - D9E-A ХОДОВАЯ

Схема запчастей Komatsu D39E-1A - FIG. R-A IN ГУСЕНИЦЫS - D9E-A ХОДОВАЯ
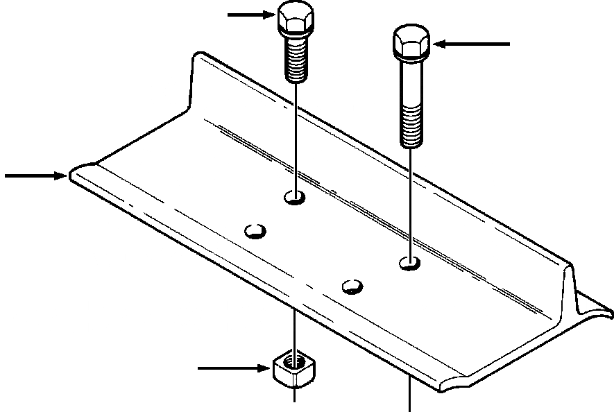
2
4
1
3
FIT
1:1
100%

Артикул

Название

Примечание

Количество

|$0

1299 152 H91

TRACK SHOES

SN: P096338-UP

1шт.

1

1299 153 H1

SHOE, TRACK

SN: P096338-UP

78шт.

2

616 199 C4

BOLT, TRACK SHOE

SN: P096338-UP

304шт.

3

616 200 C1

NUT, TRACK SHOE

SN: P096338-UP

304шт.

4

BOLT, MASTER LINK (SEE FIG. R0500-02A0)

SN: P096338-UP

4шт.

|$5

-1шт.

|$6

F1 PART NUMBER IS A NONSERVICE PART AND IS LISTED FOR REFERENCE ONLY. ORDER INDIVIDUAL PIECE PARTS.

-1шт.

|$7

-1шт.

Выбрано товаров: 8