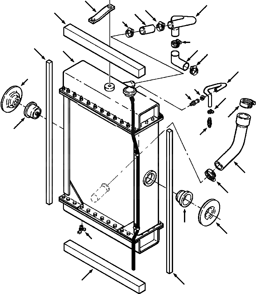
Запчасти Komatsu D39E-1A FIG. C-A КРЕПЛЕНИЕ РАДИАТОРА И СОЕДИН-ЕS СИСТЕМА ОХЛАЖДЕНИЯ

Схема запчастей Komatsu D39E-1A - FIG. C-A КРЕПЛЕНИЕ РАДИАТОРА И СОЕДИН-ЕS СИСТЕМА ОХЛАЖДЕНИЯ
17
4
5
10
16
5
5
11
15
1
5
12
2
14
13
14
8
3
18
6
7
3
2
9
10
11
FIT
1:1
100%

Артикул

Название

Примечание

Количество

|$0

1311 221 H91

RADIATOR AND CONNECTIONS

SN: P096338-UP

1шт.

1

RADIATOR ASSEMBLY (SEE FIG. C0110-01A0)

SN: P096338-UP

1шт.

2

622 456 C1

BRACKET, MOUNTING

SN: P096338-UP

2шт.

|$3

24 859 R1

BOLT, HEX - 1/2NCx3/4

SN: P096338-UP

6шт.

|$4

25 536 R1

WASHER, FLAT - 1/2

SN: P096338-UP

6шт.

3

274 287 R2

INSULATOR, RUBBER

SN: P096338-UP

2шт.

4

1309 150 H1

TUBE, OUTLET

SN: P096338-UP

1шт.

5

279 027 R91

CLAMP, HOSE

SN: P096338-UP

4шт.

6

1269 073 H1

HOSE, INLET

SN: P096338-UP

1шт.

7

279 038 R91

CLAMP, HOSE

SN: P096338-UP

1шт.

8

279 026 R91

CLAMP, HOSE

SN: P096338-UP

1шт.

9

103 647

DRAINCOCK

SN: P096338-UP

1шт.

10

1269 932 H1

SEAL, TOP AND BOTTOM

SN: P096338-UP

2шт.

11

1269 933 H1

SEAL, SIDE

SN: P096338-UP

2шт.

12

HOSE, VENT - 18IN LONG

SN: P096338-UP

1шт.

13

176 057 H1

FITTING, HOSE

SN: P096338-UP

1шт.

14

27 860 R1

CLAMP, HOSE

SN: P096338-UP

2шт.

|$17

306 132 C2

STRAP, TIE

SN: P096338-UP

-2шт.

15

1309 089 H1

HOSE, UPPER RADIATOR

SN: P096338-UP

1шт.

16

1129 556 H1

HOSE

SN: P096338-UP

1шт.

17

LINK, RADIATOR (SEE FIG. J2100-01A0)

SN: P096338-UP

1шт.

18

FITTING, VENT (SEE FIG. A5118-A2A1)

SN: P096338-UP

1шт.

|$22

364 357 C1

HOSE, BULK

SN: P096338-UP

-2шт.

|$29

-1шт.

|$23

-1шт.

|$24

F1 - PART NUMBER IS A NON-SERVICE PART AND IS LISTED FOR REFERENCE ONLY. ORDER INDIVIDUAL PIECE PARTS.

-1шт.

|$25

-1шт.

|$27

F2 - CUT REQUIRED LENGTH FROM BULK HOSE 364 357 C1.

-1шт.

|$28

-1шт.

Выбрано товаров: 29