Запчасти Komatsu D39EX-21 ТОПЛИВН. БАК. ТОПЛИВН. БАК. AND КОМПОНЕНТЫ

Схема запчастей Komatsu D39EX-21 - ТОПЛИВН. БАК. ТОПЛИВН. БАК. AND КОМПОНЕНТЫ
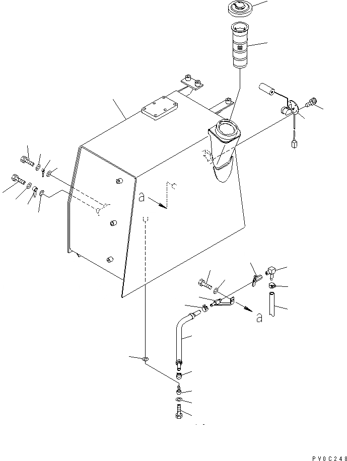
1
2
3
4
5
6
7
7
8
9
10
10
11
12
13
14
14
15
16
16
17
18
19
20
21
22
23
FIT
1:1
100%

Артикул

Название

Примечание

Количество

1

11Y-04-11171

TANK,FUEL

SN: 1156-UP

1шт.

1

11Y-04-11170

TANK,FUEL

SN: 1001-1155

1шт.

1

22U-04-21250

FILTER

SN: 1156-UP

1шт.

1

14X-04-11130

FILLER

SN: 1001-1155

1шт.

2

11Y-06-11351

SENSOR

SN: 1001-UP

1шт.

3

01023-60512

SCREW

SN: 1001-UP

5шт.

4

134-04-61180

CAP

SN: 1001-UP

1шт.

5

11Y-04-11330

STRAINER

SN: 1190-UP

1шт.

5

17M-04-41190

STRAINER

SN: 1001-1189

1шт.

6

205-04-62150

JOINT

SN: 1001-UP

1шт.

7

07005-01412

SEAL, WASHER

SN: 1001-UP

2шт.

8

07206-31014

BOLT

SN: 1001-UP

1шт.

9

20Y-04-21141

TUBE

SN: 1001-UP

1шт.

10

07005-00812

SEAL, WASHER

SN: 1001-UP

2шт.

11

07206-30508

BOLT, JOINT

SN: 1001-UP

1шт.

12

205-04-62150

JOINT

SN: 1001-UP

1шт.

13

07206-31014

BOLT

SN: 1001-UP

1шт.

14

07005-01412

SEAL, WASHER

SN: 1001-UP

2шт.

15

11Y-04-11120

HOSE ASS'Y

SN: 1001-UP

1шт.

16

11Y-09-11140

CLIP

SN: 1001-UP

2шт.

17

11Y-04-11130

NIPPLE

SN: 1001-UP

1шт.

18

01010-81020

BOLT

SN: 1001-UP

1шт.

19

01643-31032

WASHER

SN: 1001-UP

1шт.

20

07270-01030

TUBE

SN: 1001-UP

1шт.

21

07285-00125

CLIP

SN: 1001-UP

1шт.

22

07700-40240

VALVE

SN: 1001-UP

1шт.

23

205-04-62130

ELBOW

SN: 1001-UP

1шт.

Выбрано товаров: 27